上次博客,我们说了jvm运行时的内存模型,堆,栈,程序计数器,元空间和本地方法栈。我们主要说了堆和栈,栈的流程大致也说了一遍,同时我们知道堆是用来存对象的,分别年轻代和老年代。但是具体的堆是怎么来存放对象的呢?什么时候可以将对象放置在老年代呢。下面我来看一下。
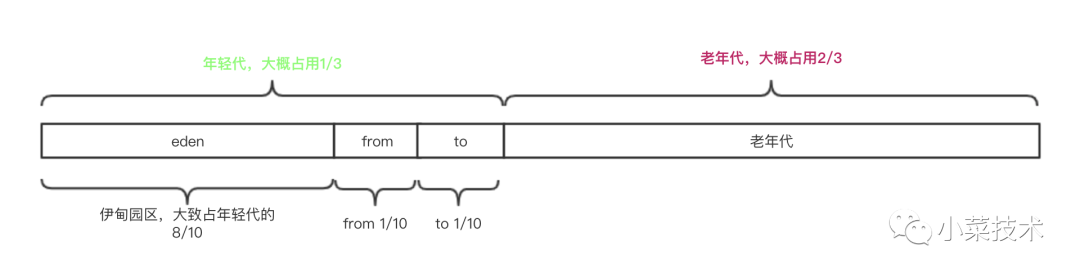
如果都为默认设置,大致就是这样的。假设我们设置内存堆的大小为600M,那么老年代就大概是400M,我们的年轻代就是200M,然后年轻代的eden区域占160M也就是200M的8/10,一般新建的对象都在这,我是说一般啊。后面会用这个600M来详细说明,from和 to区域各占20M,也就是Survivor区域占用40M,每次做完minor GC,对象就放在这个区域。
我刚才说到,有时候对象不在年轻代,那么我来具体分析一下,什么情况放置在年轻代,而什么时候又放置在老年代。 1,Minor GC之后,存活的对象Survivor区域放不下。public class Main { public static void main(String[] args) { byte[] bt1; bt1 = new byte[60000 * 1024]; }}
加入堆内存日志,我们得到打印结果为:
我们得到bt1新建以后,我们的堆内存几乎占满了,现在已经99%了,那么我们再来看一下。public class Main { public static void main(String[] args) { byte[] bt1,bt2; bt1 = new byte[60000 * 1024]; bt2 = new byte[10000 * 1024]; }}
从代码里我们可以得知,我们新建了bt1之后又新建了bt2,这时我们的eden区域应该不够用了,那么我们的内存会怎么来处理呢。我们来看一下结果
我们可以看到已经做了一次GC了,但是还是放不下,那么我们直接将较大的对象直接放置在了堆内存上。 2,长期存活的对象移到老年代。也就是经过多次minorGC以后,对象还是存活的,我们将该对象移置老年代,一般是15次,也就是对象头内的分代年龄达到15岁时,我们将该对象移置老年代。 这个很重要的一个理论知识,大概来说一下,当我们做完minorGC以后,对象放在to区域,也就是我们Survivor的to区域,可能对象是放不下的,这时会来计算分类年龄,大致是这样来算的将所有分代年龄为1的相加,再加上分代年龄为2的,再加分代年龄为3的,依次相加,一直加到最大的分代年龄,但在相加过程中,你会发现加到分代年龄为m的对象,总大小已经放满了to区域,这时就将m到n分代年龄的对象都移置到老年代,包含m。也就是大于Survivor区域的50%时,则后面的对象,包含该年龄的对象都放置在老年代。public class Main { public static void main(String[] args) { byte[] bt1; bt1 = new byte[90000 * 1024]; }}
上面我知道我们创建一个大概600M的对象放置在eden时,占了99%,那么我们创建大于600M的对象,eden一定放不下了。那么直接放置在老年代。这里参数也是可以设置的。我来设置一个参数再看看,设置参数为-XX:PretenureSizeThreshold=10000000 -XX:+UseSerialGC -XX:+PrintGCDetails public class Main { public static void main(String[] args) { byte[] bt1; bt1 = new byte[20000 * 1024]; }}
我们设置了参数,声明10M的对象就为大对象,我们创建了一个大概20M的对象,就直接放置在了老年代上。就是对象经历那么多次的minorGC了,jvm虚拟机会认为你可能会一直存活,趁着这次放不下了,你就趁早过来吧,来我们老年代混吧。 其实我们每次进行minorGC前,会有一系列操作的,可能会进行full GC的,那么我们来看一下流程吧。
我来解释一下上面那个五彩缤纷的图。等我们的eden区满时,需要进行minorGC,这时会优先看一下老年代的剩余空间大小,如果老年代剩余的空间不多了,我们就可能进行full GC,也就是我们老年代的剩余空间小于我们的eden区内将要进行minorGC对象的总和。 如果真的小了,那么我们往下走,我们会判断时候配置了-XX:-HandlePromotionFailure (jdk8以上默认设置)这个参数,如果没配置,直接进行fullGC,如果配置了就去判断老年代的剩余空间是否小于我们每次minorGC后每次要放在老年代对象大小的平均值,如果老年代小于minorGC了,那么进行fullGC。否则不需要进行full GC。 eden和Survivor(from和to)默认比例是8:1:1,但是jvm可能会将我们的参数优化,也就是-XX:+UseAdaptiveSizePolicy这个默认参数,我将其改为-XX:-UseAdaptiveSizePolicy不进行优化,保持8:1:1的比例了。1,引用计数法(基本不用,循环引用对象永远无法销毁,可能内存溢出) 给对象中添加一个引用计数器,每当有一个地方引用它,计数器就加1;当引用 失效,计数器就减1;任何时候计数器为0的对象就是不可能再被使用的。 GC Roots根节点一般为线程栈的本地变量、静态变量、本地方法栈的变量等等。 这个算法的基本思想就是通过一系列的称为 “GC Roots” 的对象作为起点, 从这些节点开始向下搜索,找到的对象都标记为非垃圾对象,其余未标记的对象都是垃圾对象 java的引用类型一般分为四种:强引用、软引用、弱引用、虚引用。import java.lang.ref.SoftReference;import java.lang.ref.WeakReference;
public class Main { public static void main(String[] args) { User user = new User(); WeakReference<User> user2 = new WeakReference<User>(new User()); SoftReference<User> user3 = new SoftReference<User>(new User()); }}
一般将对象用SoftReference软引用类型的对象包裹,正常情况不会被回收,但是GC做完后发现释放不出空间存放新的对象,则会把这些软引用的对象回收掉。软引用可用来实现内存敏感的高速缓存。 finalize是在对象马上要被收回之前运行的最后一个方法,可以写逻辑,但是完全不建议去这样去写,很可能出现对象永远不会被回收,造成内存溢出,也就是说在finalize方法内还可能“救活”我们的对象。 即使在可达性分析算法中不可达的对象,也并非是“非死不可”的,这时候它们暂时处于“缓刑”阶段,要真正宣告一个对象死亡,至少要经历再次标记过程。 1.该类所有的实例都已经被回收,也就是 Java 堆中不存在该类的任何 实例。2.加载该类的 ClassLoader 已经被回收。3.该类对应的 java.lang.Class对象没有在任何地方被引用,无法在任何地方通过反射访问该类的方法。 JVM的运行模式用三种,分别是解释模式,编译模式和混合模式,这里简单说一下这个问题,不然后面会蒙圈的。 解释模式就是执行一行JVM字节码就编译一行为机器码,这样的好处就是很节省内存空间,不用把所有的字节码都塞到内存里面去,运行效率低,但是启动快。 编译模式和解释模式恰恰相反,是先将所有JVM字节码一次编译为机器码,然后一次性执行所有机器码。这样会提高我们的运行效率,但是消耗空间资源。 混合模式是上面的总和,依然使用解释模式执行代码,但是对于一些 "热点" 代码采用编译模式执行,JVM一般采用混合模式执行代码。public class Main {
public User getUserBeanTest() { User user = new User(); return user; }
public void userBeanTest() { User user = new User(); }}
也就是说明,对象也是有很小的可能放置在栈上的。中秋放假了,明天补一下mybatis的底层是实现原理。明天继续来说我们的jvm优化