权威、深度、实用的财经资讯都在这里
5月初宣布离职的公募明星基金经理林森,近日去向曝光。
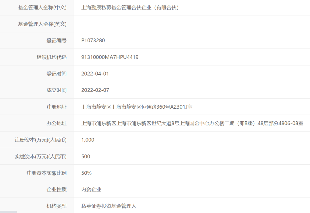
中国证券投资基金业协会最新公示信息显示,易方达原基金经理林森加盟勤辰资产。值得注意的是,今年2月成立的勤辰资产目前已经汇聚多位明星基金经理:华安基金前投资总监崔莹4月加入,鹏华基金原明星基金经理张航为执行事务合伙人。
这意味着,公募任职期间管理规模合计近1000亿元的三员大将,在勤辰资产集合完毕。
近日,勤辰资产正在多渠道进行路演,预计从第三季度开始陆续发行新产品。勤辰资产表示,市场总体已经进入底部区间,系统性风险已得到了相当释放,大批成长股进入非常好的买入区间和击球区,提高了公司为客户提供较好产品体验的概率。
林森确定加盟勤辰资产
5月7日,易方达基金连发多则公告称,林森因个人原因卸任其管理的所有基金产品,截至一季度末,其在管基金规模近700亿元。近日,中基协公示信息显示,林森出现在勤辰资产的人员名单之列,证书资格变更时间为2022年5月29日。
资料显示,2015年4月,林森加入易方达基金,此前担任易方达基金固定收益全策略投资部联席总经理。从管理产品来看,林森管理债券类产品,“固收+”产品,也管理主动权益类产品,并且业绩较为亮眼。比如其管理的易方达瑞程混合,2019年收益率为92.19%,2020年收益率为84.36%,2021年收益率同样超过20%,管理基金近五年回报率超180%。
三员大将“集合完毕”
值得注意的是,林森加盟的勤辰资产虽然成立于今年2月份,但目前已经汇聚了众多明星基金经理。
今年1月26日,崔莹从华安基金离职。资料显示,崔莹曾是华安基金的投资总监,也是公募基金中生代基金经理的佼佼者,离职前管理着华安逆向策略A、华安沪港深外延增长等5只基金,合计管理规模近250亿元。4月下旬,在上海勤辰私募基金管理合伙企业的从业人员名单中出现了崔莹的名字,基金从业证书的变更日期为2022年4月26日。
勤辰资产执行事务合伙人则为鹏华基金原明星基金经理张航。据悉,张航此前执掌的鹏华品牌传承,2018年11月-2021年8月任职总回报高达278.09%(超越基准234.93%),年化回报为61.56%。另外,去年11月离职的华夏基金原投资研究部副总裁郑博宏也在4月7日正式加盟勤辰资产,记者采访获悉,郑博宏将负责带领勤辰资产的研究团队。
勤辰资产相关人士透露,公司几位创始合伙人不仅早已相识多年,而且彼此认可,相互欣赏。在过往多年的交流碰撞过程中,几位基金经理对中国经济的未来和方向抱有高度共识,因此决定一起创立一家汇聚新一代优秀投资人并真正坚持客户利益至上的资产管理公司,抓住时代赋予的机会。
据悉,在转战私募后,勤辰资产的多位明星基金经理投资体系并不会因平台变化而发生改变,但后续会更加重视短期的回撤控制,基于平台研究资源的优势,在行业配置上更为均衡。
看好成长股投资机会
渠道人士向记者表示,勤辰资产近日正在多个渠道进行路演,准备从第三季度开始陆续发行这几位基金经理管理的私募产品,从路演内容来看,勤辰资产的多位明星基金经理对成长股后市表现较为乐观。
张航分析称,市场总体已经进入底部区间,系统性风险已经得到了相当地释放,大批成长股进入非常好的买入区间和击球区。客观来讲,上市公司的二季度业绩整体压力大,特别是中游制造业增长压力凸显,因此需要通过公司调研、竞争对手调研、上下游跟踪、公司定期报告阅读和专家访谈等方式,寻找未来一段时间(季度或者年度为单位)成长性相对较好的行业。“过去两个月,我们勤辰资产已经通过线上会议的方式讨论了超过400家上市公司的年报和一季报。”
崔莹表示:“短期而言,上游抗通胀领域存在机会。因为即使俄乌冲突结束、疫情缓解,但由于供给端恢复较慢,全球能源价格预计还会维持在高位。中期来看,中国的制造业,尤其是高端制造业,整体优势在过去几年越来越强,也是未来研究和投资的一个重点方向。具体到细分行业,在全球能源价格高企背景下,二季度以来整个欧洲的分布式光伏需求超预期,在今年四月底以来的成长股反弹中,光伏也是领跑行业之一,行业机会值得关注。另外,新冠疫情未来大概率会通过新冠治疗用药缓解,特别是一些口服药,对应原料药、中间体和CXO企业也存在投资机会。”
编辑:吴晓婧 责编:张晓光
校对:冯雯君 制作:季宇亮 图编:赵雁旎
监制:浦泓毅 签发:潘林青
往期回顾 |
重磅!支持新能源发展21条顶层规划出台!推动风电项目备案制、强化新能源发展用地用海保障......
版权声明
上海证券报微信保留本作品的所有权利,未经书面授权,任何单位或个人不得转载、摘编、链接或以其他方式复制发表,否则将被依法追究法律责任。
微信热线:王老师 021-38967805;版权合作:范老师 021-38967792。
好看,你就点一下!