《物理》创刊于1972年,在特殊的年代里破土而出,蹒跚起步中经历了“科学的春天”,见证和记录了时代的前进步伐和中国物理学研究的繁荣历程。峥嵘岁月50载,《物理》在物理学界的广泛支持下,在作者们笔耕不息的勤勉奉献里,在读者们始终如一的热情关注中,经风历雨茁壮成长,众人用心血浇灌和滋养着《物理》以自己的姿态立于中国物理学发展之林。
2022逢《物理》刊庆50周年,我们精选了50篇文章,代表历年所有的作品,献给广大物理学工作者,以及正在学习物理学和对物理学感兴趣的朋友们。让我们重温品读,一起感悟物理科学的真谛,领略学科大家的风采。
|作者:李政道
(1 Columbia University)
(2 中国高等科技中心)
本文发表于《物理》2008年第12期
* 本文是作者2008年10月12日在人民大会堂举行的“纪念望远镜发明400周年科学大师讲演会”上的讲演。
■推荐理由
文章为纪念伽利略开始用望远镜观测天体400周年而作,回顾了望远镜的发明、中国古代的天体物理、20世纪物理学的发展和21世纪物理学的前景。
今天我讲的题目是《以天之语,解物之道》。共有四个部分∶(1)望远镜的发明;(2)中国古代的天体物理;(3)20世纪物理学的发展;(4)21世纪物理学的前景。
大家知道,望远镜发明已经有400年了。1608年秋天在欧洲传播着一个消息,说有人发明了望远镜。不久伽利略就发表了他划时代的著作“星际信使”(Sidereus Nuncius)。他说:“10个月之前,有一条消息传到我的耳朵,说有一位Fleming地区(今荷兰、比利时)的人制造了一种小望远镜。利用这种望远镜,可以来看物体,虽然物体离眼睛较远,但仍然能被清晰地看到,好像它就在眼前⋯⋯”于是伽利略也制造了一架望远镜,如图1所示,就是伽利略制造和使用过的望远镜。当时天主教认可的说法是一切星体都是围绕着地球在转动,地球是中心。可是伽利略用他自己制造的望远镜观看木星,却得出了不同的结论。1610年1月7日,伽利略在观察时,发现木星右边有一个小星,左边有两个小星,见图2;第二天看就变成右边有三个小星,左边没有小星;再过两天看,右边小行星不见了,左边却有两个小暗星;再过一天,左边的一个小暗星变大了;又过一天,所有的小暗星都不见了,变成右边一个小星,左边二个小星。再过一天(1月13日)木星两旁的小星阵式又有大变,成为右三左一!根据这七天的观察结果,伽利略推断这些小星都是木星的“月亮”,就是说木星有四个月亮,而这些木星的月亮都是绕着木星转,而不是绕着地球转!这就是说,并不是一切星辰都围绕着地球转,推翻了当时天主教的错误说法。
图1 伽利略使用过的望远镜,现珍藏在意大利佛罗伦萨(Florence)的物理博物馆内(Alinari摄影)
图2 伽利略对“天之语”的初步“解语”
伽利略的重大发现还有,1591年提出惯性质量和引力质量等价、1609年以后发现月亮上有山脉和陨石坑以及金星的位相等等。1632年他又发表了重要的著作“对话”。可是在这之后,1633年,伽利略被罗马天主教会软禁起来了。在教皇的命令下,不准他发表论文,不准演讲,不准教导,不准和朋友讨论学术问题。四年以后,1637年伽利略的眼睛瞎了,五年后1642年1月8日他就过世了。伽利略的去世有可能使处于萌芽状态的近代科学夭折,但是就在同年,也就是1642年12月25日牛顿诞生了。由于当时的罗马教皇的势力没有达到英国,没有达到全欧洲,使得牛顿能够接替伽利略继续发展了近代科学,否则欧洲的近代科学必然延迟发展,也很可能中断。而在中国,两年之后,1644年,明朝崇祯皇帝自尽,明朝灭亡,中国科学的发展停滞,近代科学未得萌芽,更不用说快速发展了。
1991年,为了纪念伽利略“惯性质量和引力质量等价”实验的重要发现400周年,中国发行了纪念明信片,那是我设计的(见图3)。
图3 1991年李政道设计的明信片
1993年梵蒂冈教皇约翰·保罗二世代表天主教为伽利略平反并向全球的科学家道歉。当时是由我代表全球的科学家发言(见图4)。我面对教皇说,是地球绕太阳转,还是太阳绕地球转,这两个说法都不错。因为这是相对论。在伽利略时代,人们还不明白这个原理。不对的是教皇强逼伽利略放弃自己的观点,强逼伽利略不能讲学并将他软禁。现在能为他平反,我感到很高兴。
图4 1993年5月8日梵蒂冈(Vatican)教皇约翰·保罗二世(John Paul Ⅱ)为伽利略平反,向全球科学家道歉,李政道代表全球科学家发言
在各种不同的天体星辰中,有两类星辰最为突出。一类是“新星”;另一类是“超新星”。新星的亮度大约是太阳亮度的几万倍,超新星的亮度是太阳的百万万倍。新星和超新星都是中国最早发现的。发现新星是在公元前13世纪,这在一片甲骨上有记录(见图5)。这片甲骨上刻有“新大星并火”几个字,上面记录说,某月的第7日傍晚月亮出来的时候,发现了新大星。实际上还有另一片甲骨,说两天以后这个星就消失了。超新星的最早发现也在中国,是在宋朝仁宗至和元年。记录说,1054年8月7日天空突然出现一颗很亮的星,大如鸡蛋。每天都记录它有多亮,一直记录到1056年7月看不见为止。
图5 刻有“新大星并火”几个字的甲骨
图6 以苍璧礼天,以黄琮礼地
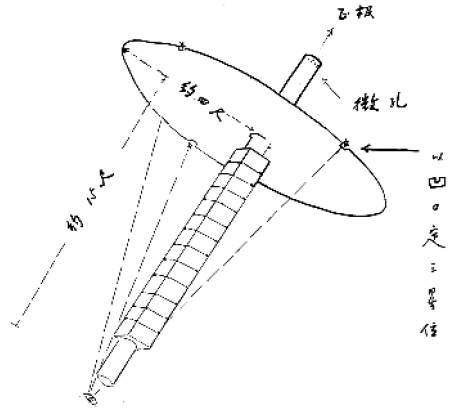
可是商周前的璇玑,径八尺,那是什么样的天文仪器呢?如何用来观察,又观察什么呢?中华民族的文化是炎黄文化,是大陆型文化,与其他文化发源不同。可以想象,五千多年前我们的祖先,每天夜间仰观星辰,一定会注意到所有星辰均在转动,每十二时辰转动一周。而这转动有一个轴心它的位置是“正极”。我的假定是,商周前的“王者正天文之器”的“璇玑”是用来定“正极”的一架巨大天文仪器,(见图7)。这台“璇玑”有一直径约八尺的转盘。盘周有三个凹口,用来确定三个不同星座的位置,随天而转。转盘的轴是一长约20尺的竹管,内取微孔,以定正极之位。假设微孔直径约2毫米,则所测定的正极角位的精确度可达0.013°。为了固定这个竹管,在它的外面包以大石块。这长长的“石柱”就演变成后来的“琮”,而这大转盘则演变为后来的“璧”和“璇玑”。
图7 假设用“璇玑”来定“正极”的天文仪器
可是地球的自转轴是在进动的,其进动周期约为二万五千年。现在正极的位置恰好是北极星(见图8)。可是商周前就完全不同了。另一个条件是,转盘三个凹口必须各对着一个较大的星。什么年代有较大的,各相距离约120°的星而“璇玑”也正好能够定位在正极方向呢?从天文历中,我们可以查到,能适合这些条件的,大约是公元前2700年。那时候紫薇星的右枢正好在现在北极的位置,比现在的北极星离正极还更近一点。周围刚好有三颗较亮的大星对着凹口,它们是紫薇星座的“少宰”、“上辅”和北斗星座的“摇光”,刚好就是这三个位置(见图9)。假如这个想法是对的,就表示说,在公元前2700年,我们的祖先已经有天文仪器可以把当时正极星的位置定位到约0.013°的精确度而紫薇星正是那时候的正极,这就是为什么紫薇星座自古以来,一直被认为跟帝王和国家的兴亡有关系的原因。这大约是公元前2700年,离现在约4700年时的情形,也可能是炎黄文化发源开始的时代。我们现在看紫薇星座,就很难看出它有什么重要性。
图8 现在北极星附近的星图
图9 4700年以前的北极星是紫薇星
太阳黑子的观测,古代中国也是领先的。据李约瑟著《中国之科学与文明》一书称:欧洲人因为有天体完整的成见,就不注意天体现象的显著事例,譬如太阳黑子的发生。在欧洲,观测太阳黑子,是由伽利略使用望远镜观测而得到的。最初发现是在公元1610年末,这是科学前进的一步。但是,中国太阳黑子的记录就我们所知是最久而最完备的,比西方要早一千六百多年。那就是公元前28年刘向时期的记录。从那时到公元1638年,中国正史中记录显著的太阳黑子现象有120次,不包括许多地方志、传记及其他出版物所做的记录在内。太阳的黑班在中国书中被称作“黑气”、“黑子”或“乌”,其大小常被描写如“钱币”。
20世纪物理学最重要的发展是相对论、量子力学和对核能的了解。1905年爱因斯坦发表了5篇论文,其中一篇提出了狭义相对论,接着在20年代出现了量子力学。这都是划时代的发展。
1939年8月2日,爱因斯坦给罗斯福总统写信,指出铀元素不久可能成为一种重要的能源。1942年12月2号,由费米带领的科学家队伍,首次实现了人工可控制的核能。人类首次可以不依靠太阳而获得能量。当时芝加哥大学康普敦教授从芝加哥大学打电话给总统科学顾问康南特,用隐晦的语言通报了核反应堆实验成功的消息。康普顿说:“意大利航海家刚抵达了新世界。”康南特问:“本地人的反应如何?”康普顿回答说:“非常友善。”这是因为在1942年的时候,意大利和美国在打仗,所以通电话要非常小心。康普敦说的意大利航海家就是指费米,他借了当年哥伦布发现新大陆的故事,报告核反应堆的运转成功。
火的发现和应用开始了人类的文化。火的能量来源是太阳能,太阳能是核能,太阳本身就是一架庞大的氢核反应堆。1942年12月2日,费米带领的科学家队伍,首次实现了人类可控制的核能,使人类能够不通过太阳而获得能量。这是20世纪的重大科技进步,也是人类历史上划时代的科技进步。
记得在40年代我做费米老师的研究生的时候,费米老师每星期都花半天时间跟我用“一对一”的方式讨论。有一次他问我,知不知道太阳内部的温度是多少。我说大概是一千万度。他说,你算过吗?我说我没有算过。他说这不行,一定要自己算。我说计算太复杂。计算太阳的温度有两个公式,其中之一需要温度的18次方,另一式需用温度的6.5次方。因此计算相当麻烦。费米说我帮你做一个专用算尺,可以化简计算。于是我们一起动手作了一个大的木头计算尺(见图10)。计算尺上的刻度,位于上边的是18Log,下边的是6.5Log。有了这个算尺,我就像用玩具似地把太阳内部的温度算出来了。这件事就是老师对学生的一对一的言传身教,使我终身不忘。
图10 1948年,费米和李政道手做的,为计算主序星内部温度分布专用计算尺。上边是18Log,下边是6.5Log。
现在我们知道,在我们“大爆炸”(big bang)宇宙中像我们这样的已知物质的能量只占总能量的5%,此外暗物质的能量占25%,暗能量则占70%。这是很奇怪的。什么是暗物质,我们不清楚,什么是暗能量,我们也不清楚。像我们这样的物质也就是已知物质,是由电子、质子、中子和极少量的正电子、反质子构成的。暗物质不是我们这样的物质。通过天体间引力场的测量,可以推理算出,暗物质的能量约是我们已知物质能量的5倍。不仅如此,最近几年通过哈勃望远镜发现我们的宇宙不仅在膨胀,而且是加速地膨胀。膨胀的原因是因为有负压力。这个负的压力,就是由于有暗能量的缘故,而这负压力是爱因斯坦较早提出来的。这个负压力就是暗能量,它占我们已知的物质能量的14倍。2004年我发表了一篇论文,探讨暗能量的来源,观念是“天外有天”。什么是天外有天呢?我认为,暗能量的存在,很可能说明在我们的大爆炸宇宙之外,会有更多、更多的宇宙。
2005年我另有一篇论文,是探讨一种强相作用夸克-胶子等离子体的产生和结构。它的观念是“核天相连”。我认为在暗能量的负压力下会产生新的物质。这新物质可能和核能相连。最近在美国布鲁克黑文实验室,用高能量的金核离子相撞,试图发现这种新物质的存在。美国布鲁克黑文国家实验室已经有了许多结果,产生了新的核物质,我们称它sQGP,就是Strong Interacting Quark-Gluon Plasma(强相互作用夸克-胶子等离子体)。因为夸克模型的核子中也含有负压力,核能也许可以和宇宙中的暗能量相变相连。
爱因斯坦最早提出的负压力——暗能量在我们宇宙中占据了如此重要的地位,所以说爱因斯坦对21世纪科学发展的影响也可能比20世纪更大。了解暗物质,了解暗能量是21世纪物理学面临的很大挑战,我相信我们会成功的。
1952年我和杨振宁合写了两篇统计力学论文。爱因斯坦看过我们的论文后,请他的助手考夫曼(Bruria Kaufman)来问我们,是否可以和他一起讨论。我们到了爱因斯坦的办公室,看到在他的桌子上放着我们的论文。他说,这两篇论文很有意思并询问了“格气”的细节。他的问题都着重于物理的基本观念。我的回答使他很满意。他说的英语带有很浓厚的德国口音,讲得较慢。我们讨论的范围很广泛,进行了大约有一个多小时。最后,他站起来和我握手说:“祝你未来在物理学中获得成功。”我记得,他的手大、厚而温暖。对我来说,这实在是一次难忘的经历。他的祝福使我深深感动。
今天,我们要纪念400年前望远镜的发明,我们也纪念100多年前爱因斯坦对物理的贡献,和他五十多年前的过世,我们更要纪念伽利略和爱因斯坦一生对人类的贡献,为科学的献身。我们的地球在太阳系是一个不大的行星,我们的太阳在整个银河系四千亿颗恒星中也不怎么出奇。我们整个银河系在整个宇宙里面也相当渺小。可是因为我们有炎黄文化,有400年前望远镜的发明,因为爱因斯坦和伽利略在我们小小的地球上生活过,我们这个黄土蓝水的地球,就比宇宙其他部分有特色,有智慧,有人的道德。谢谢大家。
补 记
非常荣幸,《物理》杂志编辑部将我的文章《以天之语,解物之道》选定为《岁月留痕——(物理》四十年集萃》中40篇经典作品之一。2008年10月在人民大会堂,我为纪念伽利略第一次用望远镜观测天体400周年作了讲演。这篇文章是在该讲演的基础上写作而成的。
2009年初,世界实验室主席安东尼诺·齐基基(Antonino Zichichi)博士邀请我设计伽利略铜像,我即以伽利略用望远镜第一次观察到木星的四个卫星图为主题,画了一个设计创意图(如附图1所示)(《以天之语,解物之道》一文介绍了伽利略的这一划时代的科学贡献)。设计图中,伽利略身穿长袍,手持他建造和使用过的望远镜凝视远方,长袍上雕刻了四排大小点组合,分别代表了木星和它的卫星在不同日子的位置,伽利略铜像高大、宏伟,坐落在由著名文艺复兴大师米开朗琪罗(1475~1564)晚年设计的国立圣玛利亚天使与殉道者大教堂前。这是该教堂建造后约450年历史中唯一的新增塑像。
附图1 李政道设计的伽利略铜像草图
2010年4月28日举行了隆重的落成典礼,世界实验室主席安东尼诺·齐基基博士主持仪式,意大利文化部部长卡乘德罗·邦迪(Sandro Bondi)、中国驻意大利大使丁伟等贵宾出席典礼(如附图2所示)。丁伟大使为铜像揭幕(如附图3所示),并在致词祝贺中表示,伽利略铜像作为中国高等科学技术中心送给意大利科学界的礼物,再次展现出中国人民对意大利人民的友好情谊,也体现了中国科技界对意大利同行的尊敬。希望两国人民以伽利略勇敢、思考与追求真理的伟大精神为动力,携手共创人类更加和平、更加美好的未来。
附图2 出席落成典礼的贵宾合影
附图3 丁伟大使为铜像揭幕
21世纪的物理学给我们带来了极大挑战和机遇。我期望祖国的年轻科学家以伽利略为榜样,为科学为人类做出更大更出色的贡献。
李政道
2012年2月28日
《物理》50年精选文章
我对吴有训、叶企孙、萨本栋先生的点滴回忆 | 《物理》50年精选文章
国立西南联合大学物理系——抗日战争时期中国物理学界的一支奇葩(Ⅰ) | 《物理》50年精选文章
国立西南联合大学物理系——抗日战争时期中国物理学界的一支奇葩(Ⅱ) | 《物理》50年精选文章
原子核裂变的发现:历史与教训——纪念原子核裂变现象发现60周年 | 《物理》50年精选文章
回顾与展望——纪念量子论诞生100周年 | 《物理》50年精选文章
中国理论物理学家与生物学家结合的典范——回顾汤佩松和王竹溪先生对植物细胞水分关系研究的历史性贡献(上) |《物理》50年精选文章
中国理论物理学家与生物学家结合的典范——回顾汤佩松和王竹溪先生对植物细胞水分关系研究的历史性贡献(下) |《物理》50年精选文章
为了忘却的怀念——回忆晚年的叶企孙 | 《物理》50年精选文章
从分子生物学的历程看学科交叉——纪念金螺旋论文发表50周年 | 《物理》50年精选文章
美丽是可以表述的——描述花卉形态的数理方程 | 《物理》50年精选文章
为答谢广大读者长期以来的关爱和支持,《物理》编辑部特推出优惠订阅活动:向编辑部连续订阅2年《物理》杂志,将获赠《岁月留痕—<物理>四十年集萃》一本。该书收录了1972年到2012年《物理》发表的40篇文章,476页精美印刷,定价68元,值得收藏。
详情请联系编辑部:
(010)82649029,82649277
physics@iphy.ac.cn
目录
2.5埃分辨率胰岛素晶体结构的研究
中子弹是怎么一回事 ?
理论物理研究中应当正确对待的几个问题
晶体缺陷研究的历史回顾
相变和临界现象(Ⅰ)
相变和临界现象(Ⅱ)
相变和临界现象(Ⅲ)
我对吴有训、叶企孙、萨本栋先生的点滴回忆
凝聚态物理的回顾与展望
五次对称与准晶态
从高能物理学的发展看北正、负电子对撞机
声学与海洋开发
扭摆的故事一一简单的仪器与重要的成果
对21世纪物理学的发展的一点猜想
模型在物理学发展中的作用
国立西南联合大学物理系一一抗日战争时期中国物理学界的一支奇葩(Ⅰ)
国立西南联合大学物理系一一抗日战争时期中国物理学界的一支奇葩(Ⅱ)
原子核裂变的发脱历史与教训一一纪念原子核裂变现象发现60周年
我国半导体物理研究进展
回顾与展望一一纪念量子论诞生100周年
我的研究生涯
北永SARS疫情走势的模型分析与预测
中国理论物理学家与生物学家结合的典范一一回顾汤佩松和王竹溪先生对植物细胞水分关系研究的历史性贡献 ( 上 )
中国理论物理学家与生物学家结合的典范一一回顾汤佩松和王竹溪先生对植物细胞水分关系研究的历史性贡献( 下 )
为了忘却的怀念一一回忆晚年的叶企孙
从分子生物学的历程看学科交叉一一纪念金螺旋论文发表50周年
我与物理
美丽是可以表述的一一描述花卉形态的数理方程
外公丰子恺先生鼓励我学物理
爱因斯坦 :邮票上的画传
转瞬九十载
一本培养了几代物理学家的经典著作一一评《品格动力学理论》
介电体超晶格的研究
我国磁约水聚变研究的早期历史
趣谈球类运动的物理
朗道百年
以人之语 . 解物之道
软物质物理一一物理学的新学科
宇宙学这 80 年
熵非商一一the Myth Of Entropy
物理学中的演生现象
书山有路勤为径,悟后起修真功夫一一访赵凯华教授
普渡琐记一一从 2010 年诺贝尔化学奖谈起
我的学习与研究经历
后记