2020年天融信与华为鲲鹏计算平台达成合作伙伴关系。近日华为安全应急响应中心联合华为重明实验室举行鲲鹏技术平台漏洞奖励计划授牌仪式,正式授予天融信阿尔法实验室“华为鲲鹏计算平台漏洞奖励计划合作伙伴”称号,并对2020年天融信阿尔法实验室在华为鲲鹏漏洞奖励计划中做出的突出贡献表示认可与感谢。
天融信受邀参与“华为鲲鹏漏洞奖励计划”后,协助华为修复了多个系统高中危风险,为华为鲲鹏服务器的安全提升工作起到至关重要的作用。继2019年天融信阿尔法实验室参加华为终端安全奖励计划之后,与华为安全应急响应中心建立了更深层次的合作。
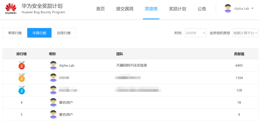
同时,在2020年度华为安全奖励计划中,天融信阿尔法实验室取得鲲鹏计算平台奖励计划安全贡献排行榜第一名。
华为安全奖励计划年度贡献排名
天融信作为国内领先的网络安全企业,25年来始终坚持自主技术创新,推出了业内品类最全、型号最多的基于国产软硬件的昆仑系列产品,产品涵盖安全防护、安全接入、安全检测、数据安全、云安全、终端安全、安全管理等多个安全细分领域。随着国产化进程加速,天融信将持续加大信创技术创新和生态适配等方面的投入,积极推动产业链上下游生态建设。未来,天融信将以网安领域最全面的产品体系以及覆盖范围最广、技术积累最深的服务支撑能力来保障信创网络安全,建设更加完善的安全生态体系助力信创产业的快速发展。
天融信阿尔法实验室成立于2011年,一直以来,阿尔法实验室秉承“攻防一体”的理念,汇聚众多专业技术研究人员,从事攻防技术研究,在安全领域前瞻性技术研究方向上不断前行。作为天融信的安全产品和服务支撑团队,阿尔法实验室精湛的专业技术、丰富的排异经验,为天融信产品的研发和升级、客户服务提供强有力的技术支撑。实验室参与并承担国家级、省部级重点网络安全科研项目,包括国家863计划、国家火炬计划、国家级技术攻关的多个项目,同时为国家众多主管单位提供大量强力有效的技术支持。
热·点·推·荐