7月30日消息,围绕国家集成电路产业投资基金股份有限公司(简称“大基金”)的监管风暴仍在继续。
在大基金管理人——华芯投资管理有限责任公司(以下简称“华芯投资”)原副总裁高松涛、原总裁路军,大基金总经理丁文武,相继因涉嫌严重违纪违法被调查之后,今日,据《财新》爆料称,华芯投资投资三部副总经理杨征帆最近也已被带走调查。传闻杨征帆被带走调查或与路军有关,背后涉及芯鑫融资租赁有限责任公司(以下简称“芯鑫融资租赁”)财务问题。
资料显示,芯鑫融资租赁成立于2015年8月27日,注册资金约132.1亿元,是一家集成电路产业融资租赁公司,公司以集成电路行业为主导,通过与国内集成电路公司进行合作,形成了集直接租赁、售后回租、委托租赁、经营性租赁、跨境租赁等于一体的业务模式。曾先后为中芯国际、长江存储、紫光展锐、长电科技、中微半导体、沈阳拓荆等一批产业龙头企业和项目提供金融服务。截至2021 年末,公司总资产规模近615 亿元,累计实现投放1289 亿元,70%以上投向集成电路及半导体领域。
2017年10月,大基金入股了芯鑫融资租赁,持股6.6562%。2018年6月6日,路军担任芯鑫融资租赁董事。直至2021年8月17日,路军才卸任芯鑫融资租赁董事。
资料显示,杨征帆,男,中国国籍,出生于1981年,无境外永久居留权,硕士研究生学历,毕业于英国布里斯托大学。2004年12月至2007年7月任清华同方威视技术股份有限公司产品开发部软件工程师,2007年7月至2011年11月任中国人民银行沈阳分行主任科员,2011年11月至2014年12月任开元(北京)城市发展基金管理有限公司高级经理,2014年12月至今历任华芯投资管理有限责任公司高级经理、资深经理、投资三部副总经理。现任上海硅产业集团股份有限公司副董事长。
杨征帆出生于1981年,硕士学历,毕业于英国布里斯托大学。2004年入职清华同方威视技术股份有限公司,在此后的三年里主要担任公司产品开发部软件工程师。2007年杨征帆先后在中国人民银行沈阳分行担任了4年主任科员,开元(北京)城市发展基金管理公司担任3年高级经理。随后,杨征帆又进入了华芯投资,历任公司高级经理、资深经理、投资三部副总经理。据悉杨征帆在华芯投资负责设备投资,牵涉众多半导体设备公司。
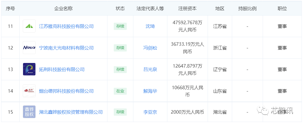
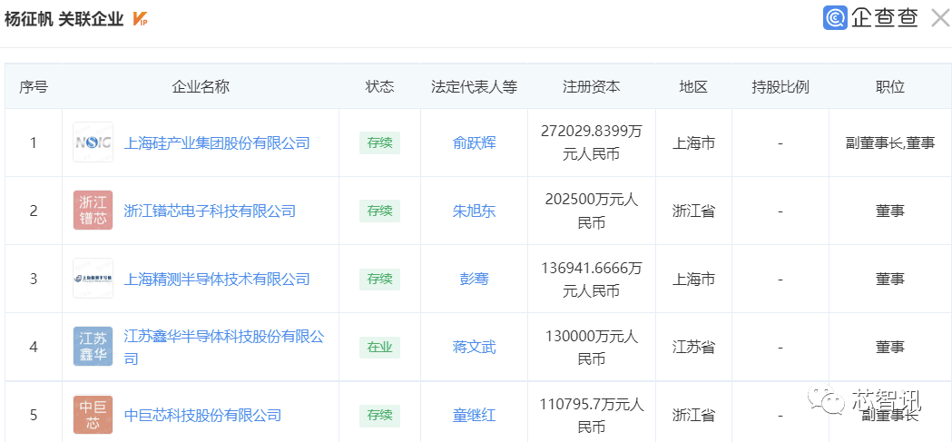
截至目前,杨征帆还担任沪硅产业担任副董事长、董事,担任中巨芯科技股份有限公司副董事长。此外,杨征帆还是浙江镨芯电子科技有限、上海精测半导体技术有限公司、江苏鑫华半导体科技股份有限公司、上海万业企业股份有限公司、中微半导体设备(上海)股份有限公司、杭州长川科技股份有限公司、睿励科学仪器(上海)有限公司、北方华创科技集团股份有限公司、江苏雅克科技股份有限公司、宁波南大光电材料有限公司、拓荆科技股份有限公司、烟台德邦科技股份有限公司、湖北鑫锌股权投资管理有限公司等十多家公司的董事。
编辑:芯智讯-浪客剑
实锤!大基金总经理丁文武涉嫌严重违纪违法被调查!旗下子基金合伙人王文忠也被调查!
美参议院通过“芯片法案”:527亿美元补贴投向何方?接受补贴企业10年内禁止扩大在华投资!
英特尔将为联发科代工芯片:Intel 16工艺,18至24个月内出货!台积电回应
为维持产能利用率,有晶圆代工厂已降价10%?还有“买三送一”?
行业交流、合作请加微信:icsmart01
芯智讯官方交流群:221807116