企业HSE培训/咨询/信息化建设一站式服务商
赛为安全“工业互联网+危化安全生产数字化智能化整体解决方案”旨在助力国家/地方政府关于危化行业双重预防机制建设管理,包括人员定位、智能巡检、特殊作业监管等政策精准落地,能有效解决企业安全管理“最后一公里”难题。
赛为安全“工业互联网+危化安全生产数字化智能化整体解决方案”,是基于危化行业安全监管政策要求和企业安全生产内生机制需求,以荣获国家防治重特大事故关键技术的安全信息化平台为载体,借助物联网、云服务、数字孪生和大数据等技术,为企业安全管理快速感知、实时监测、超前预警、联动处置、系统评估等提供数智化应用与内容服务,实现企业现场重大危险源、设备设施、人员定位、智能巡检、高风险作业等管控的可视化、信息化、数字化、和智能化。
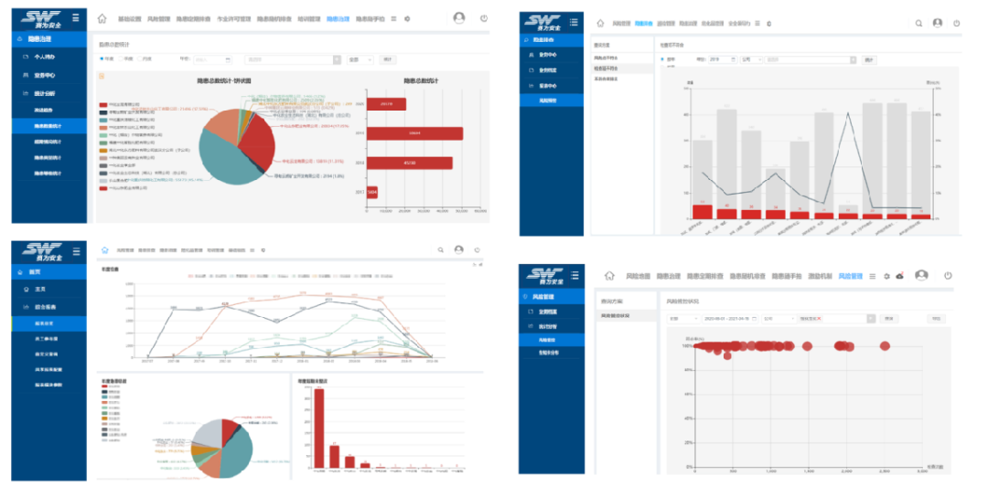
企业风险分级四色分布图,三级动态展现风险管控结果,安全隐患实时提醒,风险管控状况及时预警。
固有风险地图:区域内生产设备设施的原始风险展示
动态风险地图:“固有风险+作业许可”的风险展示
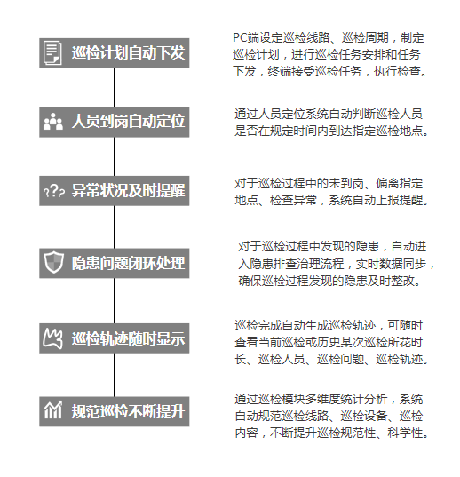
隐患计划/随机排查:通过移动端APP中植入的标准检查表可按计划执行检查,也可随时随地地进行隐患检查工作。
隐患随手拍:无论何时何处,一旦发现有问题或值得鼓励分享的行为,就可以记录下来。可输入文字,也可拍照、录视频、录语音,直观、方便、快捷。可通过手机APP “朋友圈”的方式完成隐患排查治理的全流程管理。
隐患治理:APP端实现隐患排查治理全流程可视化闭环管理。
隐患统计分析:定期对隐患进行分类分级统计分析,对隐患数据进行分析、挖掘、应用。
激励机制:数据驱动员工自动履职。
支持查看储罐、装置、仓库等处的液位、温度、压力和气体浓度的实时监测数据、历史数据、报警数据。
DCS、SIS系统联锁运行状态,联锁投用、摘除、恢复以及变更历史信息,视频监控画面信息,安全承诺信息。
可查看重大危险源物料的最大储量产能和具体实时储量产能分布;支持通过设备名称、编号、重大危险源等级和名称进行精确和模糊查询;可接收各类预警推送信息。
在事故事件管理的全过程管理中,从事故事件上报、事故事件调查、事故事件分享到事故事件关闭,设置从事故事件上报到事故事件关闭等关键节点,实现事故事件管理的流程化、标准化和智能化。
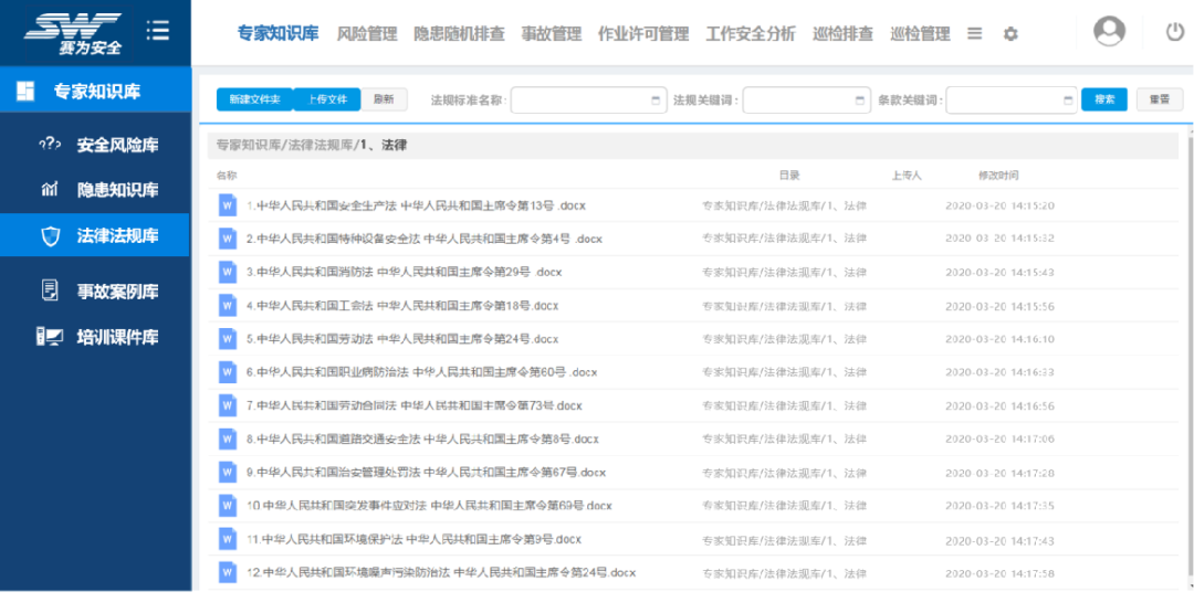
内置行业安全风险库、隐患知识库、法律法规库、事故案例库、培训课件库,支持所有安全专业知识的检索查询,为项目安全管理提供专家支持。
结合人员定位、现场视频监控对高风险作业许可管理,实时全过程可视化监控。
当作业区域确定后,自动生成电子围栏,对作业监护人员离岗、非工作人员闯入可进行报警。
将作业与人员定位结合,在申请、核实、会签、审批等环节涉及现场签字确认时,可自动判定相关人员是否在岗在位,自动显示位置信息,对异常的签字审批进行留痕记录。
通过可视化面板,随时了解全公司高风险作业的分布(作业类型、作业人员、现场状态等)。
赛为安全10年危化行业高端咨询内容的成果沉淀
行业关键50+风险点
600+风险管控标准
500+行业典型事故案例
成熟先进的工业互联网+安全生产智能化工具—安全眼
帮助企业解决安全管理最后1公里难题
以科技手段为支撑,构建“赋能自驱”和全员参与安全管理模式
科技手段解决流程固化
行业专家辅导,打造团队风险管控能力,助力企业可持续发展
技能培训、实操、练习、专业群讨论、能力评估对管理层及基层管理人员100%覆盖
大幅提升风险辨识和评估能力
助力国家/地方政府关于危化行业信息化、数字化、智能化要求精准落地
危化行业双重预防机制建设
工业互联网+危化安全生产特殊作业许可与作业过程管理
工业互联网+危化安全生产智能巡检
工业互联网+危化安全生产人员定位
服务热线:400-902-2878
| 安 | 全 | 生 | 活 |
关注赛为,生活小事,安全大事
订阅号:(ID:safewaychina )
服务号:(ID:safewaychinaservice)
↓↓点击下方关注我们↓↓