喷雾干燥是将原料液用雾化器分散成雾滴,并与热空气(或其它气体) 直接接触进行热交换而获得粉粒状产品的一种干燥方式。
溶液
乳浊液
混悬液
熔融液
膏状物
粉状
颗粒状
多孔疏松状
团粒状
同时根据雾化器类型
也可将喷雾干燥分为三类!
气流式喷雾干燥雾化器使用气流喷嘴,气流喷嘴也叫多流体喷嘴。基础操作原则是基于液体物料在压缩载气中雾化。
雾化的发生是由于液体表面有高摩擦力形成喷雾液滴。雾化气与物料在进料口喷嘴相遇,相互碰撞,导致物料在载气中雾化。
如结构那样有两个相互独立的雾化气流,它具有雾化物料的能力,被称为三流体结构。
如果可以雾化两个独立的物料,被称为四流体结构。气流式喷雾干燥常用于制备小粒径产品,产品粒径在5~50μm。
离心式喷雾干燥的雾化器是旋转雾化器,旋转雾化器是水平放置的轮形或盘形。
它有独立的电动机或其他的传动装置,用离心力将盘中心的物料给抛飞向边缘和周边形成云状液滴。
为了增加对分散的控制,多数雾化槽呈气泡状,通过凹槽得到的粉末有较高的自由密度。而不带纹的连续直线凹槽能让粉末有较好的流动性。
喷雾干燥雾化器种类中,旋转雾化是最有效的方法,但是它容易粘壁使得它不适合用于昂贵的药品。它可干燥粗糙的悬浮物质,堵塞几率小,且易控制颗粒大小,可用于任何环境系统。
但是需要较大的实验室,且造价昂贵。离心式喷雾干燥应用范围比较广,产品粒径在10~200μm。
压力式喷雾干燥的雾化器使用液压(气压)喷嘴,液压(气压)喷嘴又叫单液喷嘴。
液体在离开管道后失去部分压力,利于颗粒的雾化。液体通常在孔径的 0.4~4mm 离开,雾化角在40~160°,这常用于狭窄的腔体内。液压喷嘴不适用于粘性高的物料。一些硬质物料会导致孔径磨损,也会容易堵塞。
如果一些药物是高粘性非牛顿流体或粗糙的悬浮液,通常不会选用液压喷嘴。压力式喷雾干燥常用于制备大粒径产品,粒径一般大于150μm。
此外根据干燥器类型,
也可将喷雾干燥分为三类!
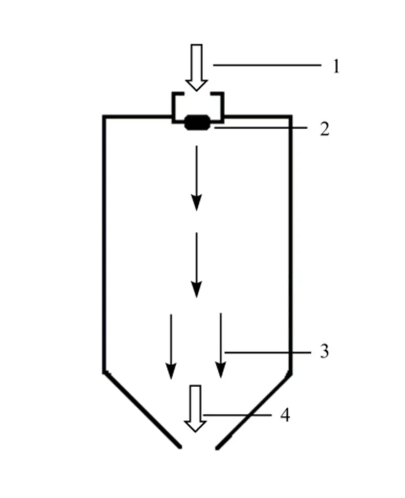
并流式喷雾干燥的进风和雾化分离都在腔体的顶部,干燥粉末从腔体底部取出,液滴随气体落到腔体底部的同时失去液体。
这种设计使进料受到最高温度的影响,因为分散液会立即释放到干燥空气中,而干燥空气尚未与周围环境发生热交换。
在管道的另一边,由于干燥气体的热能被用来蒸发大量的溶剂,因此产品被加热最少。但通常情况下,雾化后的液滴大小足以使其在完全干燥之前到达腔壁。
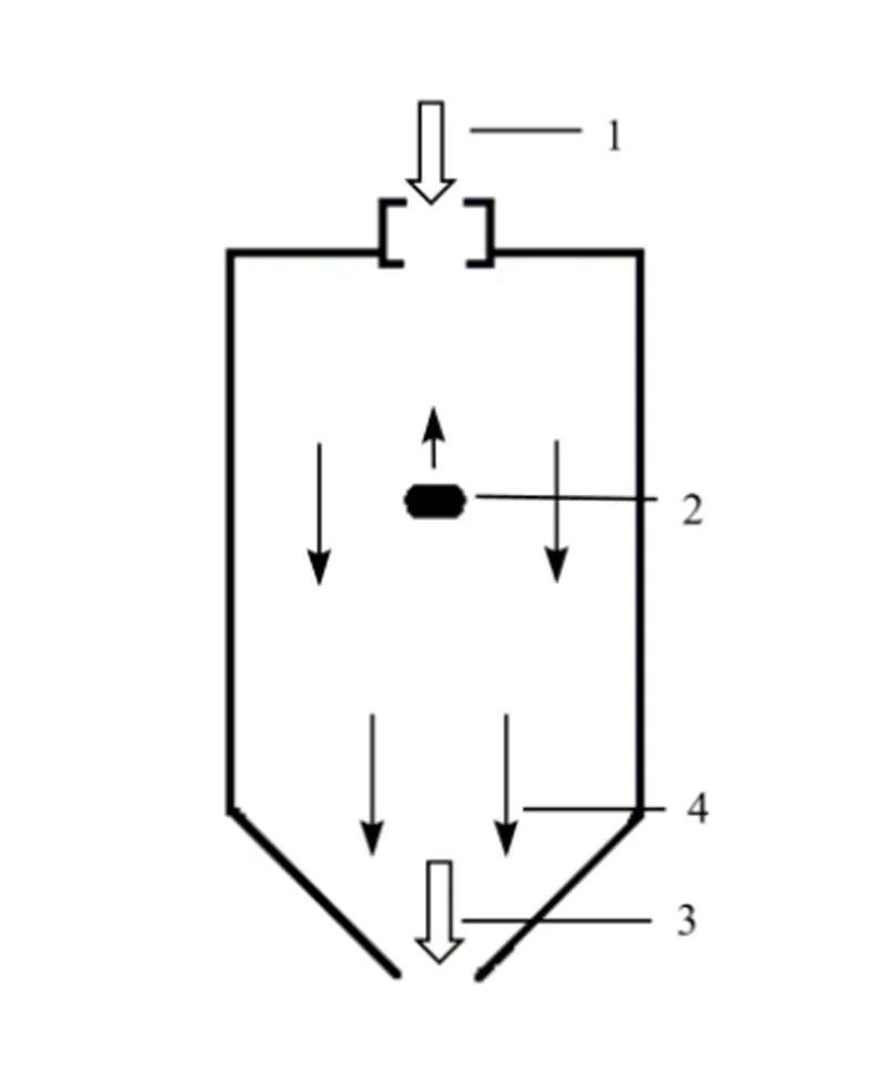
注意:1:进气口;2:雾化器;3:出气口;4:出料口(以下图片也通用)
对流式喷雾干燥是分散液滴在进风气流相对方向上干燥。物料在腔体底部发生雾化,干燥气体储存在腔体底部。
随着雾化的进行,液滴在气流中失去部分热量。最终的产品的温度比出风温度高,这让多数产品因高温气流而引起产品成焦。这种干燥系统得到的大多是多孔低密度直径比较大的产品,用这样的方法进行药物干燥比较容易成团。
尽管送风强度和压力不同,但气流与并流式干燥机中使用的气流没有本质上的区别。考虑到整个过程的效率,有两个非常重要的参数:太强的气流可能导致部分产品与离开干燥腔的空气一起排出,太弱的气流可能导致产品未干燥。
混合型喷雾干燥是进料沿干燥腔上部方向雾化,相对于干燥空气逆流的干燥方式。这种干燥方式存在未干产品和已干燥的产品混合落入腔体底部的问题。