项目简介
淮钢特钢研发办公中心外墙幕墙工程位于淮安市清江浦区,用地性质为综合用地。项目地处位于“南船北马”、“九省通衢”之称的淮安市清江浦区,建筑基底面积3513.97㎡,其中地下1层,地上12层,幕墙面积约12000㎡。
幕墙整体采用竖向分隔的形式,以此体现雄浑刚健、磅礴大气的势态,结构采用新型单元装配式幕墙体现勇于创新,不断攀登的企业精神。
项目设计理念
幕墙基础设计以及材料的应用
淮钢特钢研发办公中心在满足主体及幕墙的结构安全性能、使用性能及立面装饰性能等要求的前提下,选用合理、经济的材料配置,及科学、先进的系统构造,立柱采用80*60*4镀锌方管与60*60*4镀锌方管,横梁采用60*60*4镀锌方管,焊接成组合单元桁架来承接铝板及门窗的荷载,使用65系列断桥隔热铝合金窗与铝板幕墙组合而成第三代单元式幕墙。面材选用3mm铝单板,提高幕墙的性价比,满足其经济合理性能的要求。铝板面板大面积采用286mm*1740mm标准板块,在降低铝板造价成本的同时兼顾采购速度,便于现场施工安装。
淮钢特钢研发办公中心外墙除去单元式幕墙外还有部分玻璃幕墙在设计时除去考虑结构的安全性能、使用性能及立面装饰性能等要求的前提外,同时选用合理、经济的材料配置,及科学、先进的系统构造,立柱采用140系列T5铝合金型材为主的明框玻璃幕墙。面材选用6Low-e+12A+6中空中透光均质钢化玻璃,满足其经济合理性能的要求。玻璃面板大面积采用1900mm*1100mm标准板块,在降低玻璃成本的同时兼顾采购速度,便于现场施工安装。玻璃幕墙分隔上充分考虑美观及层间防火的要求,原则上采用与单元体一致竖向分隔的形式,给人以高大,挺拔的感觉。同时在外立面设计时框架幕墙外外接钢结构造型,以此来展现钢的意志,铁的纪律,火的热情。让整个建筑独特的个性与企业风貌充分结合。
淮钢特钢研发办公中心幕墙方案设计时结合建筑院的设计思路,充分考虑结构的安全与装配式方案的要求。选用相对经济实惠的热浸镀锌钢立柱组合式铝板门窗单元式幕墙,此种单元体连接方式,上下板块之间没有联系, 不会产生相应连接造成的不可确定性应力集中。受力简洁明确,在正常使用状态下能充分利用板材抗弯强度,当主体结构产生较大位移或温差较大时,不会在板材内部有附加应力,因而特别适用于高层建筑和抗震建筑幕墙,是真正意义上可拆装,可移动的单元式组合幕墙。且应上下板块之间独立安装,区别于传统上的框架式幕墙系统,是一种通风式的单元式幕墙,提高结构放水渗透及保温节能功效,同时降低建设成本,减少幕墙长期维护费用。
1. 导致土建主体结构变形的主要因素:土建的施工误差,沉降的不均匀,使用后的一直存在的微震,地震中的变形。
2. 单元式幕墙是通过每个相邻板块之间的槽口插接而成,具有良好的伸缩变形能力。
3. 单元式幕墙每个单元板块是一个整体,所以每个单元板块的各个构件的相对位移极其微小,在伸缩变形复位后仍然能保证板块的整体性。
4. 框架式幕墙每个相邻板块之间是靠密封胶来达到视觉上的整体感,在伸缩变形的过程中,每个构件都会产生较大的相对位移,而且伸缩变形的复位能力差。
本工程建筑立面大面采用单元式幕墙,如处理不当还可能会影响到幕墙的性能特别对幕墙的气密性、水密性、抗风压、抗震性能将产生一定的影响。防水渗漏设计和施工是工作重点和难点。
· 采用等压原理防水,并采用有组织逐层向外排水方式,排出少量渗漏水。
· 单元板块对插后形成两个空腔,第一道胶条起雨屏作用,可以阻挡大量雨水渗入等压腔内.第二、三道胶条起气密作用,层层减压消气,确保气密及等压室腔的形成。
· 渗入横向等压腔内少量雨水可以通过位于横梁两端1/4处的排水孔排出至幕墙外
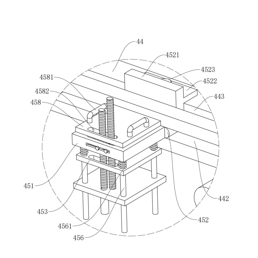
相关技术中,幕墙连接时,一般先在墙体内预埋螺杆,螺杆一般水平设置,然后将幕墙与螺杆连接,进而使得幕墙固定于上。发明人发现,通过上述螺杆固定幕墙时,螺杆受到来自幕墙的拉力,该拉力在螺杆的轴向上有较大的分力,而螺杆沿自身轴向的固定仅依靠螺杆螺纹与墙体的连接,螺杆在长时间的受力下,墙体的连接容易发生松动而导致螺杆脱离墙体。
为了改善螺杆容易在幕墙的拉力作用下脱离墙体的问题,在施工过程恒龙集团发明一种幕墙安装结构及施工工艺。
淮钢特钢研发办公中心外墙幕墙工程存在一定的技术难点,针对不同角度和项目结构的特点。对传统幕墙进行了创新和新工艺的开发。我们申报的一种幕墙安装结构及施工工艺发明专利已经获得国家知识产权局授予。
我司已有26年发展历程,具有丰富的设计及施工经验。我们有着专业的设计团队人员配备。能够专业及时的对接现场甲方与施工单位,做好施工困难与甲方要求之间的桥梁。并且在施工过程中不断提升技艺开发创创新以求为业主更好的服务。
来源:恒龙装饰