罗永浩深夜宣布“退网”,直播是还债,创业才是执念
原创
昨夜长风123
昨夜长风456
昨夜长风456
微信号
zouyechangfeng
功能介绍
发表于
收录于合集
关了一个月的小黑屋,终于出来了。
防失联,请关注小号:一亩瓜田;昨夜长风7
89
。
也可加美女助理微信:Glinda989,加入经济学社区。
6月12日晚
间,罗永浩发布微博称:将
再次埋
头创业,并退出所有社交平台!
此前,罗永浩曾透露将进军A
R
行业,
并且新公司不再以“锤子”命名。
同时
,
他还强调,是还完债的当天就会回去。
如今
,深夜突然宣布
“再次埋头创业”
,
是不是也间接暗示,债务已经全部还清?
“真还传”迎来大结局?
值得注意的是,
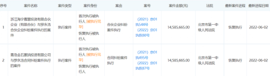
6月6日,司法信息显示,罗永浩近日新增两条被执行人信息
。
两条执行标的合计
2900万元
,案由分别为
罗永浩与青岛金石灏汭投资有限公司的合同纠纷案
;
罗永浩与浙江海宁嘉慧投资有限合伙企业纠纷案。
罗永浩
对此事进行了回应。
他表示,这
两笔
债务已经支付完了,法院恢复执行是为了结案程序。
老罗或许不是一个成功的科技创业者,但绝对是牛逼的营销大师。
2018年底,锤子科技的资金链断裂,46岁的罗永浩欠下了6亿债务。
在经历
电子烟
、
子弹短信、鲨鱼皮抗菌材料等创业项目失败后,罗永浩决定投身当下最火的直播带货行业。
2020年4月1日,
罗永浩开启了抖音平台
首场直播
。
尽管出现了网络卡顿、画面模糊、话术尴尬、业务技能不熟等诸多槽点,
但还是
迎来了4875万观众,完成了1.7亿销售额。
就此,老罗
一举奠定了抖音带货一哥的地位。
2020年9月,罗永浩就曾在《脱口秀大会》的总决赛上透露,6亿元的债务已经还清了4亿,调侃还债之后要拍《真还传》。
他的直播事业,从最初的
羞涩、陌生
,到成熟老道,再到成功
打造一套成熟的供应链系统
,短短两年时间。
就这样退出前途一片光明、如日中天的直播事业,真是太可惜了。
不得不说,老罗直播仅仅是为了还债;而创业才是他的执念。
对于创业的执念,老罗从来就没有放下过。
罗永浩称:
如果不是为了还债,他永远不会把赚钱作为创业的第一考量。
罗永浩
曾经在
细数了自己这些年“彪悍”的赚钱能力
,并在一个节目中表示:
但是赚钱其实没有什么太大的难度。
他心目中的创业是:
为社会创造价值,把世界变得更好,推动人类进步.....
他说:
只有这一类的东西,才能给我持续的、长期的激励
,才能支撑每天工作1
5
个小时。
可惜的是,他的“创业”明明已经成功了啊。
两年时间还清6亿,还有比这更成功的吗?还有比这更造福社会的吗?
可惜的是,老罗自己看不直播创造的价值。
对网红主播的质疑声音此起彼伏:买买买,能到我们的国家变富强吗?
实际上,这几年异军突起的直播带货,扮演了提高效率和促进自愿交易的角色。
对于厂商来说,他们的痛点在于酒香也怕巷子深。
如果没人知道,你的商品再好,也无人问津。
你的商品要抵达每一个人,让消费者去了解,去接受。
这个过程本身就是商品的一部分成本。
直播带货就是将兴趣一致的用户聚集在一起,构建出一个商业平台。
巨量的用户和无数的商品连接,让高昂的信息成本降低到几乎为零。
顶级流量的主播得到了巨大优势,他们代表消费者和商家谈判,驱使商家做出最大的让利。
对于消费者而言,他们得到了最大的优惠,他们才是最大的赢家。
把实体店100块一副的蓝牙耳机团购砍到35快一副,甚至包邮到那鸟不拉屎的县城。
平时你花50块都不一定吃得到的正宗山西刀削面,直播间15块就能吃到。
不花一分钱白薅一个数据线,一毛钱买到3
0
个皮筋,一块钱买4瓶玻璃水
……
无数中间商丢掉饭碗去其他更需要人力的行业发展,促进整个行业结构的优化。
这才是伟大的创新,这才是真正的力量!
老罗有激情,有想法,是营销大师,这样的天分用在直播行业上恰如其分。
但是要成为科技行业的创始人,仅有激情和营销是远远不过的。
从他过往的经历来看,我并不是很看好他。
当然,选择是什么样的行业,毕竟是老罗的自由,我们也祝福他这次创业能够成功。
对于此次退网,有网友说,当网红和创业这两者并不冲突啊,甚至可以相得益彰,希望老罗不要退网。
对此,也有人分析:老罗自带流量的属性,对投资方来说是把双刃剑。
现在的环境不比从前了。
老罗自带流量不假,但是如果说错一句话,老罗及其产品都有可能直接遭到全网封杀,连个招呼都不一定打。
所以,还是选择闭嘴为好。
归根到底,
习惯了在科技圈说“相声
”
的罗永浩,还是不安于做一个带货网红
。
也许,过了几年,我们还会在直播间见到老罗,不要惊讶。
离个婚有多难?男子强奸丈母娘未逐,妻子起诉5次没离成
张是之老师是我的朋友,这次他做的精读训练营,精读的是奥地利学派经典著作,米塞斯写的《人的行动》(也有翻译《人的行为》)。
这本书很值得精读,但是坦白讲我看了也觉得很难,张老师这个训练营可以帮助你学透这本书,非常值得加入。他带着你花一年时间精读,不是那种 30 分钟带你读完一本的快餐。
点击本号:昨夜长风456!来自武汉的神秘美女,妙趣横生,用最通俗、最跳脱语言,揭示本质,洞悉真相。
预览时标签不可点
微信扫一扫
关注该公众号
知道了
微信扫一扫
使用小程序
取消
允许
取消
允许
:
,
。
视频
小程序
赞
,轻点两下取消赞
在看
,轻点两下取消在看