以下文章来源于军事文摘 ,作者易本胜
深度研究国家安全战略、及时解读国际军事热点、详尽分析武器装备技术、立体透视军事历史人物
电话:010-58330898 手机:18501361766
微信:tech99999 邮箱:qianyanjun@techxcope.com
易评估:净评估——军事理论生成和转化的有效模式与方法
远望智库净评估中心主任、首席专家 易评估
本文刊载于《军事文摘》杂志
净评估作为一种竞争性、对抗性和辩证性的思维方式与方法,也是美军“空地一体战”“网络中心战”“空海一体战”和“第三次抵消战略”等军事理论生成和转化的有效模式与方法。根据不同议题,净评估可以选择采取历史研究、对比研究、系统研究,以及场景分析、模拟仿真、兵棋推演、作战实验、统计计算、竞争性假设分析、专家综合评估、最终的主观判断等多种方式、方法和手段。但其常用且较具特色的方法手段无外乎以下五六种,都不是什么稀缺资源,在军队和地方都有一些开发和运用,只是缺乏某种程度的结构化、规范化和工程化处理而已。
潘东豫博士在其著作《净评估:全面掌握国家与企业优势》中说:净评估并不是一门新兴的学问,它是策略规划过程中的一环,是国防规划者自企业界引进的一种国家安全战略分析技术,因此与现行产业界所流行的SWOT分析,两者之间具有相似的思考逻辑。吕德宏博士在其著作《从思想到行动:解读美军战略规划》中进一步指出:美军联合战略评估也称净评估,所使用的基本模式是对敌我双方强点、弱点、机遇和威胁进行系统地分析与综合。研究表明,这种系统分析与综合所遵行的基本模式应该就是SWOT-CLPV矩阵。
净评估:军事理论生成和转化的有效模式与方法
所谓SWOT分析是指对敌我双方的优势、劣势、机遇和威胁进行系统地分析与综合,而CLPV分析则是在SWOT基础上进行重组,更进一步地研究WO、SO、WT、ST交互作用后产生的抑制性、杠杆性、问题性和脆弱性效应。SWOT-CLPV矩阵作为一种多层次分析框架,它是定性与定量相结合、静态与动态相结合,进行群体作业、多方博弈和综合集成研究的有效模式。
SWOT分析 SWOT分析是一种态势分析法,经常被用于战略制定和调整、竞争对手分析等场合,主要分析敌我双方的优势(强点)、劣势(弱点)、机遇(机会)和威胁(挑战),类似于分析我情、敌情和战场情况,是一种常用的研究方法,也是战略研究永恒的主题。只是一般工作中的SWOT分析,往往流于简单的情况罗列,远不够系统和深入。在净评估活动中,内、外部因素都是不断变化的,需要就某一阶段的状况进行综合和概括,提取、辨识和确认SWOT因素,进而分析态势、进行最终判断,为提出相应的策略提供支持。
内部环境分析,就是针对组织(研究对象)的硬件和软件两个方面,从优势和劣势两个角度进行的专门分析,以探索竞争优势的来源与所在,以了解组织的确切实力与潜力。最基本的是分析组织及其竞争对手,在各自要素结构及其活动过程方面优劣或强弱的状态。
外部环境分析,就是针对组织外部环境的各领域或层面,从机遇和威胁两个角度进行的专门分析,旨在掌握总体环境的变化趋势,找出未来环境发展变化可能对组织的影响。重点分析组织、竞争对手、环境三者之间的相互关系或相互作用方式,以及对组织发展的利弊,并寻求借助外部力量使组织得以生存和永续发展的方法。
SWOT-CLPV矩阵表
CLPV分析 CLPV分析是对SWOT分析的继续和深入,是在SWOT因素辨识基础上,对由此四大因素交叉组合形成的效应矩阵展开的分析。运用它可以从中找出对组织有利的、值得发扬的因素,以及于己不利的、需要克服或避开的东西,发现存在的问题,找出解决的办法,并明确以后的发展方向。包括杠杆性效应、抑制性效应、脆弱性效应和问题性效应等4种矩阵分析。
延伸分析 在CLPV矩阵分析之后,事情还没有完结。通常还要根据四大效应矩阵分析讨论形成的众多战略(策略)选项,再进一步研讨并赋值;之后,借助“雷达图”(战略向量模型)等模型工具,研究确定战略取向(类型),并据此赋予其相应内涵和具体举措;最后,借助影响图、对策树等模型工具,进行排序和选择优化。
需要指出的是,内部环境和外部环境的分析不能绝然分开和机械地套用。否则,就可能削足适履、弄巧成拙了。
场景分析源于军队制定作战计划和组织军事训练中使用的想定作业,与通常的想定研究只有做法上的特色,没有本质上的区别。美军净评估作业中的场景分析方法较好地运用了想定研究的思路,它是根据已知的基本力量及其结构、带来变化的关键因素和重大的不确定因素,设想未来局势的可能前景。因为没有条件的命题无解或有无穷解,净评估作为一种面向问题的评估,也必须放在预设的时空条件下进行,以有所约束和限定,避免信马由缰、各说各话。预先筹划无论如何也不可能囊括各种情况,净评估作业通常通过多个想定场景或一个想定场景的多种参数变化,为决策者与规划人员展现未来的多种可能性,并尽可能灵活地做出应对,如此这般就可以穷尽所欲研究的各种具有代表性的重要情形—正规的战争或危机情形与标准的想定。
兵棋推演是净评估的一种手段
美军认为,虽然能力可以实算,但是意图只能虚构,因此需要设置一个关于未来情景的“剧本”,讲述关于未来各种可能的故事。其设置的各种军事想定场景,通常表现为开始、发展和结束的三段式结构,并借以描述与规划假定战争或危机事件的发展过程,辅助构建概念模型,提出对“塑造未来动态力量”的初步看法。凭此场景把当今和未来作为一个连续演进的过程来组织作业,以更加清晰地呈现事件整体发展模式、相互关系及内外影响等。场景分析方法对于理论创新、规划计划工作至关重要,美军历来重视和擅长此道,在美军中形形色色的场景构想多如牛毛,比比皆是。
需要指出的是,对于不同背景或立场的人们而言,美军有些场景的构设非常离谱儿,很难认同。但在美军看来,只有进行不可思议的构想,才能避免或有效应对不可思议的事情发生。
美军假想敌机制亦称“红队”机制,是指在战略、作战计划、训练和武器装备发展中系统引入敌对因素,敌我双方基于最大限度维护自身利益原则而进行博弈,以寻求应对思路、措施和活动的研究方式。兵棋推演就是假想敌机制运用的形式,它通过模拟现实的作战方式,对决策者面对压力作出的政治军事决策进行检验和评价。
美军认为,只有从敌人那里才能听到真实的反应,只要活生生的“敌人”在场,就可避免一厢情愿。因此,美军高度重视假想敌机制,其陆、海、空军和早前的联合部队司令部(现已撤销)、战略司令部等,都设有专门的假想敌部队,并尽量采用敌方武器装备和战术,以独立思维和自主行为的“红队”作为“对立面”来砥砺“蓝队”,基于“敌人会怎么看、怎么办”来谋求在敌方发现和利用己方弱点之前,先敌找到自身的弱点并采取措施予以克服或规避。
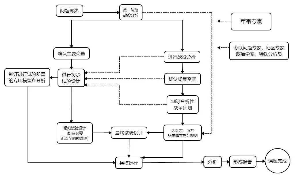
利用兰德战略评估系统进行课题研究的过程
正如下棋需要看到潜在的许多步骤—棋谱,军事领域的竞争/对抗也要预知随后的许多步骤—可能方案。运用这种假想敌机制进行战略推演,就是要把未来一些可能的步骤推导和演示出来,以便进行筛选、查验和优化策略。假想敌机制在美军战略理论研究和战略规划领域发挥着极为重要的作用。其运用方式多种多样,既有实兵对抗,也有计算机模拟对抗,更多地是由相关人员(包括前军政高官、外国学者等)扮演各方角色,根据想定场景进行“背靠背”的对抗推演,或“面对面”博弈研讨。
需要特别指出的是,美军净评估强调对问题的本质和机遇之窗的探寻,反对“不作诊断就开处方”,其对未来可能情况的推演与对报告观点和文词的推敲是有着天壤之别的。即便是像“政-军兵推”这样比较宏观的状况分析会,往往也是要借助角色扮演、分析模型和其他支持工具来进行。
模型模拟工具,主要指战略、战役、战术以及技术各层级的作战仿真系统、分析模型和其他支持工具。比较常见的有一体化应急作战模型,数学模型,海、陆、空、天、电、网等作战仿真系统,战区联合推演系统,以及思维导图、影响图、决策树、对策树、系统动力学模型等分析与支持工具。
“日后”演习程序示意图
美军净评估主要依托自主研发的兰德战略评估系统和联合一体化应急模型,并辅以大量的其他模型模拟工具。也因此有人认为,美军净评估其实就是一个庞大的“软件包”或“工具箱”。例如:兰德公司2000年抛出的所谓《恐怖的海峡?两岸对抗的军事问题与美国的政策选择》研究报告,选用了联合一体化应急模型、鱼叉海战系统和一些图表工具。联合一体化应急模型是美国防部净评估办公室委托该公司研发的一种用于探索性分析的战区作战模型,许多研究项目都使用过这一模型,他们认为能够增加其研究的可信度。鱼叉则是一种基于计算机的海战模拟系统,被公认是可从商业途径获得的最好的现代海战系统,它包括对潜艇作战、水面舰艇作战和空战的描述与模拟。再如:兰德公司2009年发布的《两岸冲突政治背景和军事方面的平衡》研究报告,采用联合一体化应急模型,基于公开数据,模拟了高层次的空中战役;采用蒙特卡罗模型模拟了大陆导弹对台湾空军基地的进攻,并对潜在威胁进行了评估;此外,还采用了其他模型模拟系统和图表工具等。
需要指出的是,一方面,美军净评估强调人的主导作用,认为模型系统是为人服务的,不可能代替人,不能把它当作“真理制造机”来使用,也不可能奢望它像工厂那样“这边把猪推进去,那边就出来罐头”。另一方面,美军净评估强调在研究问题时简单地建模、复杂地思考。
“日后”演习程序也称“翌日”演习程序,其名称源于“在……后之日”演习,是一种先由未来到现在、再由现在到未来的问题研讨流程。一些专家学者认为,它是一种吸收专家意见的综合集成方法,能使专家意见很好地进入到决策中来,以其专业知识来化解决策者制定短期、中期和长期政策时所遇到的难题,从而为分析政策难题提供一种机制,可以帮助决策者和政策分析人员解决在政策目标和目的受到假想威胁的环境下出现的复杂问题。其做法是,针对当前的事件和政策难题,围绕一个假设的“未来事件”,进行3个步骤的演习活动,使参与者沉浸于一种预设环境之中,被迫跟上快速发展的节拍,面向高度不确定性问题,甚至在信息真伪难辨的情况下艰难抉择。
美国军演的目的是找出不足并加以改进(1)
其中的“未来事件”,指围绕一场现实的或可能的政策危机所设置的一个或一系列想定场景。
第一步,研讨危机即将爆发时的状态。主要在基本想定设置的时空条件下,依托相关博弈研讨/对抗推演系统、作战仿真系统等,由各方就战略利益、政策立场、战略能力等内容,进行陈述和质疑;借助思维导图等工具支持,组织头脑风暴会议,进行影响因素辨识,组织建模和赋值,观察运算结果对参数变化的敏感度,寻找主要矛盾和冲突点,分析危机处在临界点时各方可能的抉择及总体状态。
第二步,研讨危机已然爆发后的趋势。主要在系列补充想定提供的具体情况诱导下,依托上述系统,针对特定事件,进行回合式动态交互,各方不断调整决策与行动,并借助系统分析相应的结局变化,通过连续推演或反复推演,考察危机爆发之后,到危机扩大和升级,或逐步缓解直至结束的态势演化过程。
第三步,研讨危机远未爆发前的对策。主要在前两步基础上,各方退出情况,站在己方立场上,未雨绸缪。也就是为有效避免或充分利用前两个步骤中出现的极端情况,共同研讨当前和今后一个时期己方应有的作为。通常根据前两步研讨结论,结合参考材料,借助思维导图等工具梳理共识点和分歧点,并按照SWOT-CLPV分析框架,进行优势、劣势、机遇和威胁因素辨识,以及各因素交叉作用分析;提出多种战略目标和可能的战略措施,并进行关联性分析;比照分析现行战略或政策的得失,提出重新制定或调整充实的意见建议,形成研究报告或专题材料。
需要特别指出的是,“日后”演习的核心价值在于对结果进行分析,而不在演习本身。
美国军演的目的是找出不足并加以改进(2)
这里所谓辩证性的分析框架,特指美国国防部前部长梅尔文˙莱尔德关于净评估是什么的名言。早在1973财年《年度态势陈述》中,他以单独的一节介绍了净评估,坚定地认为国家安全计划制订过程中的净评估是应对复杂情况不可或缺的工具,并以两句简洁的语言清晰地表达了自己的看法:简单说来,净评估与总体力量计划一起,告诉我们现在在哪里,将要到什么地方去,我们如何才能到达。全面的说,净评估就是比较分析以下两个方面:一个是阻止或者有可能阻止我们实现国家安全目标的军事、技术、政治和经济因素是什么;一个是可以获得的或可能获得的促进我们实现国家安全目标的因素是什么。莱尔德的这两句看似平淡无奇的话,却为众多净评估课题项目提供了难得的分析框架思路。
以《外军体制编制发展及启示思考》为例。按照“简单说来”的思路,至少可以围绕以下3个问题展开研究:外军体制编制现状及其形成过程是怎样的,有何特点规律或经验教训?外军体制编制未来发展趋势及目标是什么,主导趋势的子趋势及子趋势背后的原因是什么,确立此一目标的依据及过程是怎样的(或有何考虑)?外军将采取怎样的方针策略与规划计划,以及资源匹配方案和配套政策来实现其预定目标。而按照“全面的说”的思路,至少可以提供了以下两个方面的遵循。一方面,阻止或者有可能阻止M军实现其体制编制发展目标的各种因素是什么、为什么?另一方面,M军可以获得的或可能获得的促进其实现体制发展目标的因素是什么、为什么?然后在此基础上,再按照以外为师、以外为鉴、以外为敌、以外为友的不同前提,学习其成功做法、避免重蹈其覆辙、分析其对我影响及消除影响的对策、寻求某些领域配合协作的某些可能性,进而梳理出相关的启示思考应该不成问题了。
需要指出的是,这里只是一种假定,非常局限,并不主张大家当作规范来机械地运用。应该说,条条道路通罗马,我们还可以作其他的理解和运用。
易评估:装备体系贡献度评估实质是净评估——装备体系贡献度评估与净评估之比较研究(PPT)
| 一网打尽系列文章,请回复以下关键词查看: | ||
|---|---|---|
| 创新发展:习近平 | 创新中国 | 创新创业 | 科技体制改革 | 科技创新政策 | 协同创新 | 科研管理 | 成果转化 | 新科技革命 | 基础研究 | 产学研 | 供给侧 | ||
| 热点专题:军民融合 | 民参军 | 工业4.0 | 商业航天 | 智库 | 国家重点研发计划 | 基金 | 装备采办 | 博士 | 摩尔定律 | 诺贝尔奖 | 国家实验室 | 国防工业 | 十三五 | 创新教育 | 军工百强 | 试验鉴定 | 影响因子 | 双一流 | 净评估 | ||
| 预见未来:预见2016 |预见2020 | 预见2025 | 预见2030 | 预见2035 | 预见2045 | 预见2050 | ||
| 前沿科技:颠覆性技术 | 生物 | 仿生 | 脑科学 | 精准医学 | 基因 | 基因编辑 | 虚拟现实 | 增强现实 | 纳米 | 人工智能 | 机器人 | 3D打印 | 4D打印 | 太赫兹 | 云计算 | 物联网 | 互联网+ | 大数据 | 石墨烯 | 能源 | 电池 | 量子 | 超材料 | 超级计算机 | 卫星 | 北斗 | 智能制造 | 不依赖GPS导航 | 通信 | 5G | MIT技术评论 | 航空发动机 | 可穿戴 | 氮化镓 | 隐身 | 半导体 | 脑机接口 | 传感器 | ||
| 先进武器:中国武器 | 无人机 | 轰炸机 | 预警机 | 运输机 | 直升机 | 战斗机 | 六代机 | 网络武器 | 激光武器 | 电磁炮 | 高超声速武器 | 反无人机 | 防空反导 | 潜航器 | ||
| 未来战争:未来战争 | 抵消战略 | 水下战 | 网络空间战 | 分布式杀伤 | 无人机蜂群 | 太空战 | 反卫星 | ||
| 领先国家:美国 | 俄罗斯 | 英国 | 德国 | 法国 | 日本 | 以色列 | 印度 | ||
| 前沿机构:战略能力办公室 | DARPA | 快响小组 | Gartner | 硅谷 | 谷歌 | 华为 | 阿里 | 俄先期研究基金会 | 军工百强 | ||
| 前沿人物:钱学森 | 马斯克 | 凯文凯利 | 任正非 | 马云 | 奥巴马 | 特朗普 | ||
| 专家专栏:黄志澄 | 许得君 | 施一公 | 王喜文 | 贺飞 | 李萍 | 刘锋 | 王煜全 | 易本胜 | 李德毅 | 游光荣 | 刘亚威 | 赵文银 | 廖孟豪 | 谭铁牛 | 于川信 | 邬贺铨 | ||
| 全文收录:2017文章全收录 | 2016文章全收录 | 2015文章全收录 | 2014文章全收录 | ||
| 其他主题系列陆续整理中,敬请期待…… |