☀ 定期推送第一手轨道交通资讯,新鲜的热点新闻、权威的专家解读、全面的技术分析,更有27万+轨道交通采购商机,招标、招募、询价......一号在手,随时随地查看!
重庆市铁路(集团)有限公司,巴南区、南川区发展改革委:
重庆市铁路(集团)有限公司和巴南区、南川区政府《关于审批市郊铁路重庆中心城区至南川线工程可行性研究报告的请示》(渝铁路司文〔2022〕172号)及有关材料收悉。结合中国国际工程咨询有限公司《关于市郊铁路重庆中心城区至南川线工程可行性研究报告的咨询评估报告》(咨交通〔2022〕2520号),经研究,现批复如下。
一、市郊铁路重庆中心城区至南川线已纳入《成渝地区双城经济圈多层次轨道交通规划》,项目建设对支撑沿线旅游资源提档升级,推动南川同城化发展先行区建设,促进主城都市区一体化高质量发展具有重要意义。经研究,同意实施重庆中心城区至南川线工程(项目代码:2207-500000-04-01-645938)。
二、项目法人
暂由重庆市铁路(集团)有限公司作为项目法人,推进项目前期工作。待组建项目公司后,报我委履行法人变更手续。
三、主要建设内容和技术标准
(一)主要建设内容。项目西起轨道交通27号线惠民站,途经二圣、东温泉、黎香湖、大观、南川城区等区域后,终至金佛山站。线路全长74.2公里,其中地下线长40.29公里、高架线长24.96公里、地面线长8.95公里;设车站7座,其中高架站3座,地下站1座,地面站3座。设南川车辆段、重庆东停车场(与27号线重庆东车辆段共址);新设黎香湖、南川2座主变电站,与27号线共享重庆东主变电站。
(二)主要技术标准。正线数目:双线,采用右侧行车制。设计速度:160公里/小时。车辆:市域D型车。供电系统:采用AC25kV接触网供电。行车组织:本线内部交路采用4辆编组,初期配车21列/84辆;贯通运营交路初、近期采用4辆编组,远期采用6辆编组。
四、项目总投资及资金来源
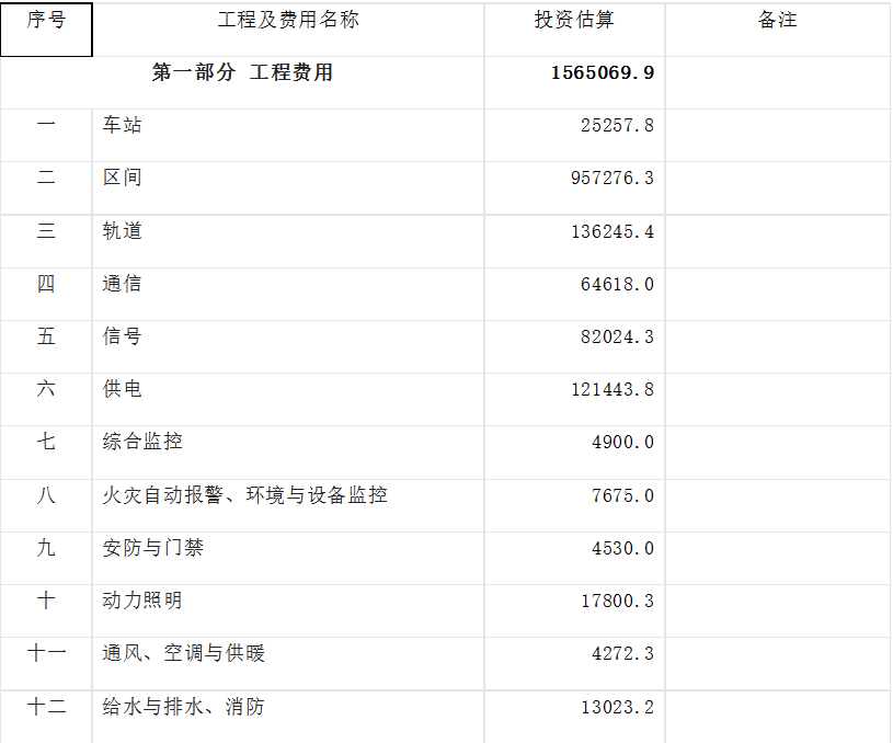
项目总投资233.19亿元,其中:工程费用156.51亿元、工程建设其他费用34.76亿元、基本预备费19.13亿元、专项费用22.79亿元。项目资本金占总投资的40%、93.28亿元,由市级及相关区级财政分别承担,具体承担比例待报请市政府审定后再明确;资本金以外的其余60%、139.91亿元由项目法人商请银行贷款解决。
五、建设工期
建设工期60个月。
六、招标核准
招标范围为项目的勘察、设计、施工、监理以及与工程建设有关的重要设备、材料等的采购。招标方式为公开招标,招标组织形式为委托招标。招标公告在指定媒体公开发布。
七、其他
(一)请重庆市铁路(集团)有限公司按照本批复内容以及可研咨询评估报告有关建议意见,抓紧完成项目初步设计工作,并编制项目投资概算报我委审批。如初步设计阶段确需对本批复的建设内容和规模进行调整,需报请我委批准后方可纳入初步设计方案。
(二)请重庆市铁路(集团)有限公司商沿线各区政府,尽快组建项目公司,并严格执行项目法人责任制、招标投标制、工程监理制、合同管理制,切实加强工程管理,严格控制投资,防范施工及运营风险。
附件:市郊铁路重庆中心城区至南川线工程投资估算表
重庆市发展和改革委员会
2022年12月30日
附件
市郊铁路重庆中心城区至南川线工程投资估算表
单位:万元
重庆市铁路(集团)有限公司,沙坪坝区、璧山区、永川区发展改革委,重庆高新区改革发展局:
重庆市铁路(集团)有限公司和沙坪坝区、璧山区、永川区政府、重庆高新区管委会《关于审批市郊铁路重庆中心城区至永川线工程可行性研究报告的请示》(渝铁路司文〔2022〕173号)及有关材料收悉。结合中国国际工程咨询有限公司《关于市郊铁路重庆中心城区至永川线工程可行性研究报告的咨询评估报告》(咨交通〔2022〕2519号),经研究,现批复如下。
一、市郊铁路重庆中心城区至永川线工程已纳入《成渝地区双城经济圈多层次轨道交通规划》,项目实施对支撑西部(重庆)科学城建设,促进璧山、永川同城化,推动主城都市区一体化高质量发展具有重要意义。经研究,同意实施市郊铁路重庆中心城区至永川线工程(项目代码:2207-500000-04-01-469275)。
二、项目法人
暂由重庆市铁路(集团)有限公司作为项目法人,推进项目前期工作。待组建项目公司后,报我委履行法人变更手续。
三、主要建设内容和技术标准
(一)主要建设内容。项目西起永川区永川西站,途经永川区城区、陈食、大安,璧山区丁家、来凤、青杠,重庆高新区金凤、白市驿等区域后,东至沙坪坝区重庆西站。线路全长70.26公里,其中地下线长35.36公里、高架线长29.58公里、地面线长5.32公里;共设车站17座,新建车站15座,预留2座;本期新建车站中地下站7座,地面站1座,高架站7座。设金凤车辆段、陈食停车场;设金凤、来凤、陈食3座主变电所。
(二)主要技术标准。正线数目:双线,采用右侧行车制。设计速度:140公里/小时。车辆:市域D型车。供电系统:采用AC25kV接触网供电。行车组织:初期采用4辆编组,配车22列/88辆;近期、远期采用4辆编组/6辆编组混跑模式。
四、投资估算及资金来源
项目总投资292.47亿元,其中:工程费用193.28亿元,工程建设其他费用49.41亿元、预备费24.27亿元、专项费用25.51亿元。项目资本金占总投资的40%、116.99亿元,由市级及相关区级财政分别承担,具体承担比例待报请市政府审定后再明确;资本金以外的其余60%、175.48亿元由项目法人商请银行贷款解决。
五、建设工期
建设工期60个月。
六、招标核准
招标范围为项目的勘察、设计、施工、监理以及与工程建设有关的重要设备、材料等的采购。招标方式为公开招标,招标组织形式为委托招标。招标公告在指定媒体公开发布。
七、其他
(一)请重庆市铁路(集团)有限公司按照本批复内容以及可研咨询评估报告有关建议意见,抓紧完成项目初步设计工作,并编制项目投资概算报我委审批。如初步设计阶段确需对本批复的建设内容和规模进行调整,需报请我委批准后方可纳入初步设计方案。
(二)请重庆市铁路(集团)有限公司商沿线各区政府、管委会,尽快组建项目公司,并严格执行项目法人责任制、招标投标制、工程监理制、合同管理制,切实加强工程管理,严格控制投资,防范施工及运营风险。
附件:市郊铁路重庆中心城区至永川线工程投资估算表
重庆市发展和改革委员会
2022年12月30日
附件
市郊铁路重庆中心城区至永川线工程投资估算表
单位:万元
来源:重庆市发改委