![]()
![]()
旅游业是澳洲的最大产业之一,全澳洲约5%劳动人口工作于旅游相关产业。疫情来袭封闭期间,澳洲经济特别是旅游业,受到了重创。时光如逝,时隔两年后,在2月21日,澳洲重新开放国境。其中澳洲旅游业最盼望的就是中国人,因为曾经从入境人数和消费额上看,中国是澳大利亚最大的旅游来源国。2019年来自中国的游客近150万人,为澳大利亚经济一共贡献了130亿澳元。这个数字,超过了所有国际游客消费总数的30%,是排第三位的英国游客的3倍。创下历史记录。自7月6日起,外国公民入境澳洲不再需要申报疫苗接种状态,任何外国人只要有澳洲签证,就可以直接入境澳洲。等于说是彻底开放了,这对想要来澳洲旅游的国际游客,更是利好。中国游客的消失,会让澳洲留下120亿澳元的黑洞,让澳洲旅游业雪上加霜。澳大利亚旅游局更是不断到中国举办旅游交流会,希望中国游客重回澳洲。 澳洲最新报告显示,2021-22财年发放的旅游签证及商务签证两个短期签证类别中,中国人跌出前三位。中澳关系
中澳关系最近几年,可谓急转直下,在政治,军事,贸易上产生摩擦,曾经的蜜月期荡然无存。
中方也发布通告称:澳大利亚国内对华人和亚裔的种族歧视言行和暴力行为现象明显上升,提醒中国游客切勿前往澳大利亚旅游。
同时也要求留学人员谨慎选择赴澳或返澳学习,中国不少民众对澳洲情绪也颇为不满,这些都影响了中国民众来澳洲的意向。
澳洲对待疫情,基本已经全面放开,疫情依旧没有完全控制住。据澳大利亚官方统计数字,已报告感染过新冠的人数为1040万。三分之二的澳大利亚人已感染过新冠病毒,澳洲真实感染人数,已经远超1040万这个数字。三分之二的5-11岁儿童、70%的青少年, 80%的18-29岁的人群,已经全部感染。
所以澳洲的疫情情况,也是阻挡中国人来澳的一个重要原因。所以,很多中国人,即使想要来澳,面对澳洲疫情风险的肆虐,也会选择观望短期放弃来澳。澳洲签证难签
澳洲政府的签证态度,也是一个原因。
75%的旅游签证申请(600和676类别),比2019年处理时间多出269%。
商务签证(短期停留,456类别)和商务访客签证(600类别)的处理时间也比之前增加了一倍。
澳洲内政部称:自6月1日以来,已处理近280万份临时和移民签证 ,由于我们处理积压中的旧申请,处理时间将需要一些时间来改善。”
这致使签证延误非常严重。
而且,澳洲现在对一些国家公民的签证签发时间拖延得相当严重。
一份新的报告显示,今年前往澳洲的访客平均要等待数月才能获得签证,其中大多数中国公民要等4个月之久。 今年4月至6月间,约75%的中国游客旅游签证需要120天才能下签。在2019年的同一时期,大多数人在9天内就下签了。一方面是签证确实挤压太多,另一方面,澳洲对中国的签证更加严格。中国公民的签证申请,可能会使澳洲签证的处理更加困难,澳洲工作人在处理中国的签证时也采取更谨慎的态度。而最近澳洲媒体调查曝光了一些中国人涉嫌与犯罪集团有关的签证欺诈行为。
疫情政策
最后一个主要原因,就是疫情政策。
中方对旅客进行严格的出入境政策,执行非必要非紧急不出境。
![]()
从境外入境中国后,需要隔离,这对出境游客,会造成不小的压力。
替代
由于最大旅游金主中国游客的确实,澳洲现在也在自救,寻找替代来源。
澳大利亚旅游局现在在大力发展东南亚、印度等市场。
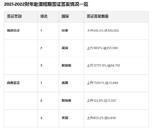
现在来自印度的签证数量保持相当稳定,印度成为澳洲最大的签证来源国,其次是东南亚。
在发放的100万份旅游签证中,印度占19%,其次是英国、新加坡、美国、马来西亚。
接下来,澳洲会继续大力发展其他人口大国的市场,在短期内替代中国市场缺失带来的损失。
中国游客的缺失,给他们带来不小的损失,很多人被迫改行。如果游客确实给您带来损失,那么请您加油,未来一定会更好
要相信,只要能够恢复自由行或者出境游,中国游客一定会继续回到澳大利亚,来看看美丽的澳洲,和探望好久不见的朋友们。
因为,澳洲就是澳洲,澳洲的魅力,在全球来说无可替代!
各位,一定要对澳洲有绝对信心!
![]()
![]()
那么,最后,你认为中国游客不来澳洲,对澳洲影响,对你的影响是好还是坏?
![]()
感谢大家的阅读,如果喜欢我们的文章,可以在下方直接点赞、推荐一下