杆友欣欣然推荐莫问乐队的《南无阿弥陀佛》:2022年,日本的掌舵者,苏联的守墓人,大英帝国的余晖,都走了,这个时代终归是要结束了。(ps:欢迎杆友们点第二天的歌,或将自己的歌发给我们,可以写句简短的话,我们会将音乐下面原文附上)一则突如其来的清盘呈请“内幕消息”,将低调已久的房企大佬融创中国重新拉回C位。
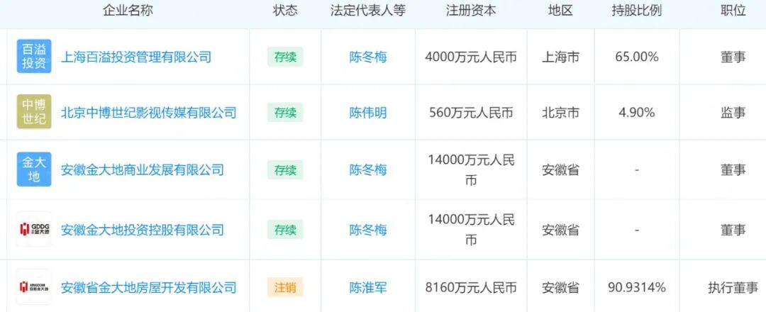
据披露,2022年9月8日,融创中国受到陈淮军向香港特别行政区高等法院提出的,对融创中国的清盘呈请,内容有关其未偿还其持有的优先票据,涉及本金2200万美元及应计利息。对此融创中国的态度是:董事会认为呈请并不代表其他持份者的利益,并可能损害融创中国的价值,因此将寻求法律措施坚决反对,并采取一切必要行动保障其合法权利。这世界变化太快。可能很多杆友在2022年之前都没想过,融创会还不起债。毕竟2021年之前,其曾数次以救房企于水火的“白衣骑士”身份出现。颇有名的一次是2017年,融创以335.95亿元收购万达项目76个酒店,以295.75亿元收购万达13个文旅项目的91%股权,融创承担项目贷款。这意味着,除贷款外,融创此次收购支付金额高达631.7亿元。然后是2019年,融创中国152.69亿元收购环球世纪及时代环球51%股权。最近一次有名的出手在2021年。4月16日,融创西南集团与彰泰集团订立合作框架协议,双方将共同设立合资公司,接手彰泰所属目标公司100%权益。该交易对价约为99.1亿元,交易完成后,融创西南集团与彰泰将分别持有合资公司80%及20%的股权。这次收购本该属于旭辉,但因为和旭辉方面的价格没谈拢,后者放弃收购事宜融创也有失败的收购,据说也是价格问题。2022开年,融创旗下的物业公司“融创服务”就宣布了终止收购第一服务约32.22%股份。对于终止原因,融创服务方面的说法是:卖方在2021年12月31日突然推翻双方此前在交易价格、交易安排方面达成的共识,最终导致正式协议无法完成签署。此前的2021年10月,融创服务官宣这笔交易时,第一服务的母公司“当代置业”已经陷入美元债危机。卖物业被公认为是“自救”的有效途径。而融创一向是“白衣骑士”,这次出手也并没有让市场意外。让市场意外的恐怕是,2022年5月,融创中国官宣“暴雷”。彼时其发公告称:4月陆续到期的4笔美元债优先票据利息,无法在相关的宽限期内进行利息偿还。实际上,在2021年末期,融创中国的部分举动已经透露出其财务方面的底气。比如老板孙宏斌的“自掏腰包”,将自有资金4.5亿美元无息提供给集团,以支持融创的经营发展。还有一系列配售行动、出售价值30多亿元的贝壳A类普通股等。彼时杠杆地产写了一篇文章“融创中国到底欠了多少钱”分析其财务状况。另外,杠杆地产发现此次申请清盘呈请的呈请人陈淮军,似乎也是个有故事的人。某度百科的资料显示,其为安徽人,现任安徽金大地房屋开发有限公司总经理。在媒体2013年的一篇报道里,陈淮军自述祖籍安徽桐城,成长于淮南,从小在部队大院长大。毕业后先到企业工作,父亲当年是当地一家药厂的厂长,又是安徽劳动模范。可他自己觉得这种按部就班的人生没有前途,总想做点什么。从企业出来后,他做过药品销售员、开过塑料厂、做过药品经营。1995年,陈淮军在淮南买了一块地,想建一家专科医院,盖医院只要4000平米,但他买了6亩地,只要卖掉一部分。也正是这次偶然的机会让他发现地产领域大有可为,所以放弃了建医院的计划,转型做地产项目。安徽的杆友可能对金大地熟悉,其成立于1997年,是一家专业从事投资、房地产开发、商业运营、物业管理和生态农业的综合性企业集团。企查查显示,安徽金大地房屋开发有限公司法人、实控人、最终受益人均为陈淮军,目前处于注销状态。除了安徽金大地,陈淮军关联的其他部分公司目前有几家仍在存续,其中涉及影视传媒、投资管理、商业发展等。根据披露,2021年底,朗诗绿色生活全资附属公司还收购一组安徽物业企业股权,初步现金代价为1.07亿元,该安徽物企为与陈淮军全资持有公司。根据涛哥杂谈,2016年12月,安徽省合肥市委原副书记、原市长张庆军被“双开”。那之后,通过公开渠道看到的陈淮军总经理的“足迹”已经远在加拿大。比如合肥市桐城商会2018新春联谊会,远在加拿大的陈淮军会长发来视频讲话,感谢各界领导一直以来对商会工作的关心和厚爱;以及参加加拿大列治文农场主协会举办的“夏日农庄BBQ”等。而2015年,陈淮军还在海南三亚参加了“中城联盟董事长新春战略研讨会暨新春家宴”,与十多位房企掌门人共话2015年房企发展之路。总而言之,金大地为何突然低调,“掌门人”为何突然跑到境外,我们外人看来比较奇怪。回到本次主角融创中国,2022年以来,融创中国虽然低调,但并没有闲着。从其发布的一系列公告里,杠杆地产感受到了一个字:难。2022年3月21日,融创中国发布盈利警告,称基于截至2021年12月31日止年度未经审核管理账目的初步审阅以及现时可得的资料,预期本年度其拥有人应占溢利较去年下降约85%,核心净利润较去年下降约50%;2022年5月12日,融创中国披露内幕消息官宣违约;2022年6月30日,融创中国表示,由于未能与罗兵咸永道就完成2021年度业绩审核工作的时间表达成共识,因此委聘另一家外部核数师在切实可行的情况下尽快完成审核工作。此后其聘任香港立信德豪为新核数师。2022年9月5日,融创中国披露8月未经审核营运数据,2022年8月,其实现合同销售金额约107.5亿元,合同销售面积约80.6万平米,均价约13340元每平米。2021年同期,上述三项数据分别为450.6亿元、322.3万平米、13980元每平米。2022年1-8月,融创中国累计合同销售金额约1346亿元,累计合同销售面积约1021.1万平方米,均价约13180元/平方米。2021年同期,上述三项数据分别为4151.7亿元、2868.0万平米、14480元每平米。下滑的幅度杠杆地产不忍心说。关于债务,融创中国说正积极与财务顾问和法律顾问一同制定切实可行的债务重组方案, 以改善其流动性、增强主体信用,并保障所有利益相关方的利益,希望会有一个好结果。直到这篇文章推出,融创中国尚未发布2021年业绩公告,股票仍在停牌中。本文未标注出处的截图,均源自融创中国相关公告,特此说明并致谢Ps:如果觉得文章不错,也请帮忙点个“在看”呗。杠杆游戏欢迎杆友来稿,我们有稿费哦,可加alioyer投稿
版权及免责声明:本文系杠杆游戏(头条号签约作者)创作,未经授权,禁止转载!如需转载,请获取授权。另,授权转载时还请在文初注明出处和作者,谢谢!杠杆游戏任何文章之观点,皆为学习交流探讨用,非投资建议。用户据此进行的一切投资,请自负责任。文章如有疏漏、错误欢迎批评指正。
![]()