作者 / 陈念航
编辑 / 王德芙
出品 / 汽车之心(微信 ID:Auto-Bit)
凭借一块超级大屏闯荡中国新造车江湖的拜腾汽车,走到了创业 4 年来最艰难的时刻。
拜腾的至暗时刻
6 月 29 日晚,拜腾中国区的员工收到临时通知,公司的 CEO 戴雷将召开中国区全体员工电话沟通会。
当晚 10 点,超过 800 名拜腾汽车在职和离职员工参加了这次会议,整个沟通会持续 10 分钟左右。
会上,戴雷宣布了公司股东和管理层经过讨论后做出的一致决定:
中国区(包括南京、上海和北京,不含香港)所有公司将自 2020 年 7 月 1 日起停工停产。本次停工停产期预计 6 个月。
在拜腾中国区 HR 发给员工的停工停产通知书中提到,由于全球新冠肺炎疫情等因素的影响,公司融资及生产运营均遭遇了重大挑战,经过几个月的尝试和努力后,仍不得不遗憾地宣布停摆的决定。
在停工停产期间,拜腾绝大部分中国区员工将待岗,公司不再安排工作。对于一些必要的工作岗位,公司将另行书面通知。
汽车之心从拜腾内部员工处获悉,这些留岗值守的人员大约 100 人规模,其中大部分为生产和研发。
另外,针对拜腾在美国硅谷和德国慕尼黑的办公室,目前已照当地法律申请了破产保护,大部分员工都被精简,只各自留下 10 人左右。
在此次沟通会上,拜腾针对此前拖欠员工的 3、4、5 月份的工资问题给出了初步解决方案,计划于 7 月 10 日前向员工发放 3 月份的薪资,其余几个月的欠薪将积极创造条件分期支付。
而对于从 6 月 30 日起主动提出离职、并在 7 月 3 日前办完离职手续的员工,拜腾将在 7 月 10 日前一次性结清欠薪,不过据说这个名额也是有限的。
根据戴雷此前在 6 月 1 日员工大会上的说法,支付欠薪的资金将来自公司的退税,大概为 1 亿人民币,而 3 个月的欠薪金额约为 9000 万人民币。
只要退税到账,欠薪问题基本可以解决。
在停工停产的决定出来之前,拜腾已经陷入了泥沼之中。
据媒体报道,拜腾汽车在上海的办公室已经在 4 月底撤租、北京办公室也在近期撤租、南京工厂已经断电。
6 月 4 日,拜腾汽车生产运营高级副总裁马督胜(Mark Duchesne)离职,这是非常关键的人才流失,直接影响的是拜腾南京工厂的生产制造能力。
往后的 6 月 23 日,有近 100 名拜腾汽车南京地区员工聚集在南京市经济开发区,要求拜腾支付此前拖欠的薪资。
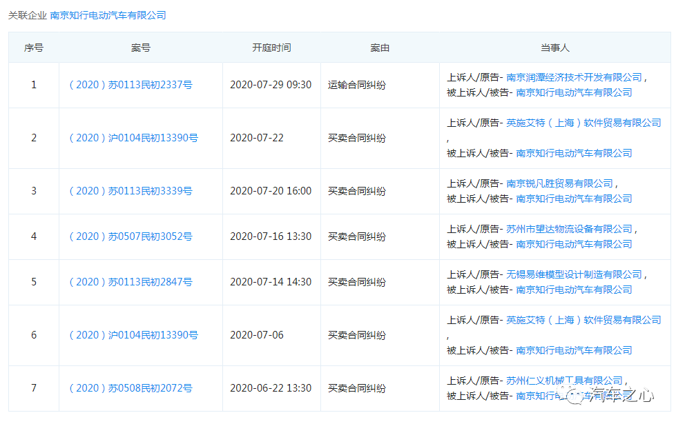
此外,企查查公布的工商信息显示,拜腾汽车南京的运营主体「南京知行电动汽车有限公司」也陷入到了与多家供应商的买卖运输合同的官司之中。
欠薪、欠款、停工停产,拜腾如今最需要的就是资金,但是融资一直未有新进展,迫使其陷入了绝境。
虽然拜腾中国区如今已停工停产,但并不代表这家公司立马就要进入破产清算。
毕竟这里面牵涉到的股东非常复杂,资金量也很大,而且有国有资产流失的巨大风险。
这场超过 10 亿美金的豪赌,还远没有走到寿终正寝的地步。
拜腾 CEO 戴雷表示,公司将利用停摆的时间和股东共同商议,梳理下一步的发展方向,商讨重组方案。
谁也不知道 6 个月之后,拜腾将会以何种姿态再次站在世人面前。
被收购?重新出发?还是破产清算?
我们且行且看。
钱!钱!钱!
戴雷(左)和毕福康(右)
拜腾是典型的精英创业,最开始的两位掌舵人:
一位是前宝马集团副总裁、宝马 i8 项目总负责人毕福康(Dr. Carsten Breitfeld);
另一位是中国女婿、南京大学校友,曾任英菲尼迪中国总经理、华晨宝马营销高级副总裁的戴雷(Dr. Daniel Isidor Kirchert)。
「老毕老戴」组合联手在中国创业,准备造智能电动汽车一度成为业内关注的焦点。
但这二位在车圈成功的职业经理人,其实一开始就并非「自主创业」,而是被背后的资本推手攒在了一起,其幕后的大佬就是和谐汽车集团的掌门人冯长革。
2015 年 7 月,富士康、腾讯与和谐汽车按照 3∶3∶4 出资,共同注册成立河南和谐富腾互联网加智能电动汽车合伙企业(简称「和谐富腾」),初始规模 10 亿人民币。
和谐富腾的成立正是冯长革一手推动的,他还拉来了郭台铭和马化腾一起参与。
有了资金之后,冯长革开始为和谐富腾物色管理层人选,他找到了当时在宝马集团任副总裁的毕福康。
经过三次邀约之后,他与毕福康终于见面并进行了 3 小时的长谈,最终说服这位宝马 i8 之父在中国开启新的事业。
据说郭台铭和马化腾都亲自面试了毕福康。
而后,冯长革还邀请了他的好朋友「中国通」戴雷加入这个项目。
2016 年 4 月,由和谐富腾孵化的 FMC 项目正式成立,这便是拜腾的前身,其领头人就是毕福康和戴雷。
在分工上,毕是 CEO,戴是 COO。
与 FMC 同期,和谐富腾还孵化了爱车,也就是后来的爱驰汽车,这就是另外一条线了。
FMC 成立之后,本以为会顺风顺水向前推进,毕竟有和谐汽车、富士康以及腾讯做背书,资金也非常充足。
但谁料不久之后,腾讯和富士康就因为特殊原因而撤资,只留下和谐汽车独木支撑。
刚创立不久的 FMC 就陷入了资金难题,而缺钱也成为了拜腾往后发展过程中的一个主旋律。
直到 2016 年底,FMC 终于拿到了首笔融资,由和谐汽车联合力合汽车、晋亨投资共同投资,其中和谐汽车出资 3000 万美金。和谐汽车也由此成为了拜腾的最大股东,并且至今仍是如此。
这也是为什么后来在拜腾的很多公开发布活动中,冯长革会经常出来站台。
在很长一段时间里他对外身份的是拜腾的创始人以及联席董事长。直到 2019 年 1 月拜腾进行组织架构调整,冯长革才完全退居幕后,公司全权交给毕戴二人。
从这些背景和渊源可以看出,拜腾的两位领导者并非真正的自主创业者,与同时期的李斌、李想们相比,其创业的目的也没有那么纯粹。两位成功的职业经理人只是被资本的纽带联系在了一起。
所以拜腾早期在对外融资时,也遭遇了很多困难。
毕竟这是两个德国人在中国创业,而且以往都没有创业成功的经验,都是依托大平台而成功职业经理人。个人能力虽然突出,但要主导一家创业公司的运作,资本方心里也没底。
根据 36 氪此前的报道,一位拜腾高层回忆,当时资方担心团队玩票,要求创始成员个人出资,所以创始成员都投入不少身家,戴雷在创始成员中出了最大的一笔钱,但毕福康拒绝了个人出资。这一点与李斌、李想、何小鹏们不吝身家的投入形成了鲜明对比。
到 2016 年底,包括外部投资方的钱以及团队自己的出资,拜腾总共拿到了约 4000 万美金。但这个数目,对于造车的庞大工程来说显然是杯水车薪。
而从外部的环境来看,2017 年也是中国造车新势力集体爆发的一年。
这一年,各类大资本砸向新造车风口,包括蔚来、理想、威马、小鹏在内的创业公司,拿走了各大投资机构的超 50 亿美元资金。而留给拜腾的,则是两手空空。
转机在 2017 年中出现,戴雷的福地——南京市地方政府对拜腾的造车项目很感兴趣。
这年 8 月,拜腾宣布拿到了南京市政府、苏宁以及丰盛控股等机构的总计 2.4 亿美金投资。拜腾也就此将总部落在了南京市,并加速推动其南京生产工厂的建设计划。
有了南京政府在资本、土地以及优惠条件的支持,毕戴二人的心里也更有底了。
随着新车型发布、工厂建设以及中美两地团队的搭建,拜腾也成功吸引了一汽的关注。当时业内盛行的方式是「一新带一旧」,比如蔚来和江淮、小鹏和海马,拜腾也有意绑定一汽这座靠山。
与上一轮融资时隔近一年后,2018 年 6 月,拜腾终于拿到了来自一汽、宁德时代等机构的 5 亿美元 B 轮融资。
而后的 7 月 2 日,拜腾正式与一汽签署战略合作框架协议,双方计划在平台技术、零部件采购方面进行一系列合作。
拜腾与一汽的密切关系就此建立,而这一密切关系,未来成为了影响拜腾汽车走向的重要因素。
在 B 轮融资完成后,缺钱的拜腾很快启动了 C 轮融资,总金额据称也是 5 亿美金,计划在 2019 年年中完成。
但是至今,拜腾的 C 轮融资仍未完成。
根据拜腾的说法,其 C 轮融资中已经确定的投资者包括了一汽、南京市政府旗下的产投基金、韩国汽车零部件制造商 MS Autotech 以及日本丸红商社。
在今年 4 月,媒体还报道称拜腾核心管理层将降薪 80% 并出资参与 C 轮融资。但显然直到 6 月底停工停产,拜腾的 C 轮融资仍未完成。
算下来,拜腾自 2016 年 4 月成立以来,其公开的融资额度总计 7.8 亿美金。再加上未公开的 C 轮融资额以及南京市地方政府给的补助和贷款额度,拜腾的融资总额应该接近 10 亿美金。
拜腾的融资能力,与同为新造车势力的蔚来、理想、小鹏、威马相比,确实落后不少。
而融不到足够的钱,也导致了拜腾的第一款车迟迟量产不出来,反过来导致投资机构更加不信任和不看好,从而陷入了死循环之中。
烧光 10 亿美金
将近 10 亿美金的资本,在 4 年时间里悉数耗尽,而拜腾至今仍未交付一款产品,能拿出来的只有几十台试制样车。
3 年前管理层许下的要击败 BBA 的豪言壮语如今看来很是唏嘘。
10 亿美金对于造车来说,确实不算富足。
但是历时 4 年时间、举数千精英之力仍造不出一款量产车,拜腾的问题到底出在哪里?拜腾又是如何烧光这近 10 亿美金的?
与蔚来纯代工、小鹏先代工后自建工厂不同,拜腾在一开始就选择了自建工厂的模式,这意味着一笔巨大的投入。
2017 年 1 月,拜腾前身 FMC 与南京经济技术开发区签署合作协议,共同建设高端智能电动汽车制造基地,规划总产能为 30 万辆,总投资超过 116 亿人民币。
南京工厂于 2017 年 7 月动工,直到 2019 年 9 月份基本完工,工期超过 24 个月。
虽然南京市政府以及当地区政府在拜腾的工厂建设方面给了很多的土地优惠、资金以及贷款的支持,但拜腾这个过程中融到的钱也很大一部分还是投入到了工厂的建设之中。
另外,拜腾在南京还有总部大楼,这也是一笔不菲的投入。
据报道,自 2019 年 6 月份开始,南京市每月会给拜腾一笔约 2000 万美金的过桥贷款,以维持公司的正常运营。
从这一点可以看出,拜腾这两年在工厂以及产线建设方面投入的资金量级是很大的。
知乎上一名拜腾内部员工曾爆料:
公司在生产方面烧了很多钱,比如自建电池产线,造价超过 6000 万人民币,而且用的是滚道线,另外在模组吊装工位之外还有机器人部署,只用 AGV 拉货;
而在电池合装线方面,造价超过 2 亿人民币,而且 40 多个紧固点全部做成自动化。
另据企查查披露的信息显示,拜腾抵押给一汽的一套涂装生产线设备,价值超过了 4.8 亿人民币。而这样的设备应该还有很多。
拜腾在产线的自动化方面下了血本,基本都是按照最豪华的方案去打造的一套产线。
这些细节也反应出拜腾在工厂及产线建设方面的投入巨大。
既然是自建工厂,那拜腾就必须有自己的生产资质。
在拿到一汽投资之后的不久,拜腾就从一汽夏利手中买下了一汽华利,目的就是从其手中拿下造车资质。其背后的「代价」是,拜腾同意承担并支付一汽华利应付职工薪酬 5462 万元,并偿还 8 亿元债务。
其中,8 亿元债务需在 2019 年 9 月 30 日前分期偿还。
截止目前,拜腾已经向一汽华利支付了 3.3 亿元款项,而剩余的 4.7 亿元仍未有着落。
不过,一汽华利的造车资质已经在今年的 5 月份被划给了拜腾的南京运营主体公司。
这也就意味着,一汽华利在未收回所有款项的情况下,将资质转给了拜腾。
而拜腾如今已经停工停产,陷入到资金困局之中,后续是否有能力偿还 4.7 亿元债务仍充满不确定性。
不过,即使现在只付了 3.3 亿,拜腾买造车资质仍然是一笔巨大的支出。
而针对产品本身,拜腾首款 SUV 车型,定位为豪华车型,而且座舱里面的超大全面屏是大卖点,配合有各类小屏幕。另外,车内还有手势交互、可旋转的座椅等等。
这一切的产品细节和创新元素,都造成了车型开发上设计难度更大和研发周期更长,而在供应链侧这也意味着更多的成本和投入。
另一方面,也是因为拜腾车型产品的创新很多,所以充斥着很多非标准设计的零件,这导致各类模具、样件复杂,开发费用高昂。
据传,有一些海外的供应商还专门为拜腾在中国投资建设产线。
另据拜腾内部员工透露,公司在选择供应商方面一直是「高大全」的思路,供应商要挑名头最大的,比如博世的三电、Hanon 的热管理、弗吉亚的内饰等等,而找这些大牌的代价就是成本增加。
最关键的问题在于,花大价钱将各类零部件集齐之后,拜腾做整体集成时就发现问题非常多。
最终导致的结果,创新确实是创新,但花费的代价与收获是完全不成正比的。
这一点也是拜腾的车型产品难产的很大原因。
在生产制造以及产品之外,拜腾另一个花钱的地方就是各地的办公室运营以及人才的引入。
拜腾和蔚来一样,走的是全球化研发的路线,拜腾在南京、上海、北京、香港、美国硅谷以及德国慕尼黑都有团队,而这一模式无疑是非常烧钱的。
在南京,拜腾早期花了很大代价从福特挖了近百人的团队,而且其南京总部的人员福利待遇也相对较好,非常有竞争力。
如果要看具体的数字,拜腾针对中国区员工的欠薪今年 3、4、5 月份就达到了 9000 万人民币,平均一个月 3000 万元的人员薪资。
这还只是在中国区,且今年还进行了裁员的情况下。
如果算上美国办公室,按照当地的薪资水平,可以想象需要的资金有多大。针对拜腾美国硅谷办公室,有报道显示人员最多时有近 600 人,而拜腾全球人员最多时也就大约 1600 人,这部分支出对于拜腾这家本来就没有太多资金储备的新公司来说,无疑是沉重的。
而拜腾美国办公室的急剧扩张,背后很大程度上是因为前任 CEO 毕福康。
据拜腾内部员工透露,毕福康在任期间,他主要负责美国办公室的业务,所以有一段时期拜腾的研发重心其实放在了美国,这也就有了硅谷办公室加速招人、急剧扩张的时期,从而导致运营成本的陡然增加。
拜腾的股东也意识到了这一问题,所以公司内部有未经证实的传闻称,毕福康在 2019 年 4 月出走拜腾很大的原因是股东要求其削减美国办公室的人员和成本规模,同时要将研发重心放到中国,而毕福康不从,正是这样的矛盾导致了毕戴二人分道扬镳。
事实上,拜腾所遇到的这个问题,蔚来也曾经历过。
蔚来的做法是换掉管理层,大刀阔斧裁员,收缩成本。
如果拜腾能像蔚来一样早些快刀斩乱麻,调整在全球的发展战略,或许情况不会如今天这般糟糕。
工厂、生产资质、产品创新的代价、全球研发团队的运营支出,让本不富裕的拜腾更加雪上加霜。但对于拜腾的管理层来说,身处其中,也许很难意识到这些都是问题。
拜腾往何处去?一汽会是救世主吗?
拜腾已经走到了绝境,是绝处逢生还是跌入深渊,拜腾将去往何处?
或许有这样三个选项:
南京市政府出手相助,效仿合肥出手救蔚来;
拜腾被收购/新投资进入;
拜腾进入破产清算。
首先看南京市政府出手,实际上南京很早就已经在给拜腾提供资助,所以这一条路若能走通,拜腾也不至于做出停工停产的决定。
再看破产清算,若走到这一步,这里面便涉及到巨额的国有资产流失,这显然不是南京市政府以及拜腾投资人愿意看到的,所以才有了这 6 个月的缓冲期来避免破产清算。
新的投资进入可能性也不大了,现在这个情况下,估计不会有资本去趟浑水,毕竟已经够复杂了。
所以,只剩下最有可能的一个方向:拜腾被收购。
有业内人士评论:「任何还没有电动平台/技术的传统厂商都应该认真考虑收购拜腾。」
看上去,对拜腾来说,被收购应该是最好的归宿。抛开拜腾的管理和运营不说,其首款准量产车型 M-Byte 的产品力其实有目共睹,一款不算太差的车型,现在就差规模量产的临门一脚。
如果这一脚不迈过去,将成为很多人的遗憾。
谁最有可能收购拜腾呢?
或许是一汽。
一汽在拜腾的 B 轮和 C 轮融资中都有参与,持股比例超过 15%,即使不是第一大股东,也应该排在前四。
有媒体报道称,毕福康在离开拜腾以后,于 2019 年 9 月份公开评论老东家,表示自己离开拜腾很大原因是一汽入股后对公司的控制加强,甚至所有的支出都要由一汽审批。
暂不论这些言论的置信度有多高,可以肯定的是一汽股权投资拜腾后一定是想掌握到一些关键资源。
一汽确实通过给拜腾提供巨额贷款而获得了拜腾南京工厂的很多资产作为抵押,这些都通过工商信息进行了公示。
既然有如此密切的关系,一汽买下拜腾也具备合理性,毕竟这也是一种资源的整合。
拜腾现阶段已经停工停产,很多员工将会陆陆续续离职,留下来的待岗人员以及近百人的留岗值守人员将会是拜腾接下来比较核心的团队。
另外,利用这几个月的时间,拜腾内部也会进行重组,处理各类遗留问题,最终回来的将是一个比较纯粹的造车创新企业。
而这样的一个拜腾,也更利于一汽进行收购。
即使一汽不想付出高昂的代价,还可以进行招聘式收购的方式实现对拜腾的整合。
从一汽方面来讲,未来发展电动汽车平台是非常重要的战略,应该也会认真考虑拜腾这样现成的智能电动汽车研发和生产的优质资源。
当然,一汽是很合适的选择,但不是拜腾唯一的选择。二者能否两厢情愿地走到一起,就看接下来几个月的走向。
翻开拜腾现任 CEO 戴雷的朋友圈,最后一条状态停留在今年 4 月 10 日,他写道:「春天来了,南京工厂办公楼前和车间内的新进展」。
拜腾的春天还会来吗?
附:拜腾中国区停工停产通知书
致中国区全体员工:
2020 年是艰难的一年。由于全球新冠肺炎疫情等因素的影响,公司融资及生产运营均遭遇了重大挑战。经过几个月的尝试和努力,我们仍不得不遗憾地宣布,中国区(不含香港)所有公司将自 2020 年 7 月 1 日起开始停工停产。
停工停产期间具体安排如下:
一、中国区所有公司全体员工待岗,公司不再安排工作;对于必要的工作岗位,公司将另行书面通知。
二、停工停产期间,所有待岗员工的工资待遇将依据法律法规进行支付。即,2020 年 7 月按照劳动合同约定正常支付工资,2020 年 8 月起支付待岗生活补贴,具体标准将根据各地法规要求确定。
三、停工停产期间,所有待岗员工的社保、公积金仍将依法缴纳,个人部分也将由公司一并承担。
四、停工停产期间,所有待岗员工将不再享有绩效奖金、各类津贴及福利待遇。
五、停工停产期预计 6 个月,后续安排将视公司具体情况决定并另行通知,请您保持联系方式畅通。
六、停工停产期间,所有待岗员工与公司的劳动关系仍然存续,员工仍应当遵守公司各项规章制度和劳动纪律,包括但不限于保密义务。
七、对于待岗员工,公司将于 2020 年 7 月 10 日前支付 2020 年 3 月份欠薪,剩余欠薪也将积极创造条件分期支付。
八、对于选择主动辞职的员工,公司将尽最大能力筹集资金,优先保障。2020 年 6 月 30 日前个人自愿书面提出辞职(含本通知发布前已辞职)并于 2020 年 7 月 3 日前办理完毕离职手续的员工,于 2020 年 7 月 10 日前一次性结清全部欠薪。
如您仍有疑问,可就具体问题咨询您的人力资源伙伴。
再次感谢全体中国区员工对公司的理解以及为公司做出的巨大贡献!
中国区人力资源部
Byton China HR
课程预告
视觉SLAM进阶:从零开始手写VIO(16学时)
7月3日正式开课
欢迎扫描下方课程二维码了解课程详情
(注:学习本门课程需要有一定的视觉SLAM基础)