郑恺之前在商业上玩得风生水起,不仅带着好友们一起搞投资,“跑男”兄弟们也都见势自己开店。但是,后来他们也都集体翻车了。还记得刚成名那会儿,郑恺曾说过一段很讽刺的话:“好歹我还是个屁,很多人奋斗半辈子连个屁都不是。”
根据公众号平台最新的推送规则,如果不想错过八妹的文章,记得标星标哦,以前加过的也需要重新添加,这样每次新文章推送才会第一时间出现在你的订阅列表里。人生总会有遗漏,但是不要忘记 “添加星标”哦!!!最近,#郑恺900万股权被冻结#冲上热搜,让不少他的粉丝捏了一把汗。今年6月,郑恺与苗苗才刚刚官宣“二胎得子”,一家人本该沉浸幸福的喜悦中,没想到,却因为一个借款合同纠纷,郑恺成了被执行人。其实这事也不算啥大事,属于正常的商业纠纷,这点钱对明星来说也算不了什么,多录几期《跑男》就赚回来了。更何况,郑恺背后还藏着诸多“天坑”,比如代言被投诉,投资的企业抄袭、涉黄、偷税等。毕竟,郑恺一度被认为是“富二代”明星,曾凭借灵敏的嗅觉玩转商界,还曾带着“跑男”兄弟们做生意,但如今他们都一起玩“脱”了.......
关于郑恺究竟是不是“富二代”,一度是娱乐圈的一个“迷”。郑恺1986年出生在上海,2004年进入上戏表演系。刚进入大学读书时,郑恺就很与众不同。同班男生还在步行,郑恺就买了车。作为同班同学,杜江透露:不记得郑恺走路的样子,因为那时他就已经开着车上学了。在杜江眼中,郑恺“精细、有钱”还挺大度,因为郑恺的日常用品都很昂贵,一支牙膏就要一两百块钱,平时还会经常自费请同学出去玩。大学时期,郑恺的确有很多钱,不过,很多都是自己赚的。由于镜头感很好,郑恺广告接到“手软”,快餐、饮料、牙膏、口香糖等广告中都有他的身影。郑恺后来回忆道,自己每个月平均可以接6条广告,一年就是72条。4年大学读下来,他先后接了几百条广告,被称为“广告小王子”。起初作为新人,郑恺接到的视频广告费用就是1500元,平面广告至少是2000元起步,一年下来轻松赚10几万。并且后期随着业务越来越熟练,给到的广告费也有所上涨。2007年,郑恺参演首部电影踏入演艺圈,先后参演《杜拉拉升职记》《奋斗》《致我们终将逝去的青春》等,成为娱乐圈的演“富二代”的专业户,但这都没让他大红大紫,反倒带来了一些“误解”。郭德纲曾问过郑恺,为什么老演“富二代”?郑恺调侃说,自己长得就像“富二代”。后来,被问的次数多了,郑恺不得不“一本正经”地发文否认,说自己来自上海一个普通家庭,中等水平。“我妈妈以前是个外科大夫,我爸最早是给领导开车的,后来当上了一家企业的总经理。”2014年,郑恺因为参加《奔跑吧,兄弟》突然火了。在某期节目的游戏环节中,郑恺不小心放了一个屁,这不仅让他成功上了微博热搜,还一炮而红。彼时,不少网友都在调侃他“霸气侧漏”,但郑恺不仅不恼不躁,还趁着热度,做起了生意,开发了一款臀部印有一团蘑菇云的“放屁裤”。而这款裤子一上线就被“秒光”,给郑恺带来了丰厚的收入。![]()
同时,郑恺还创立了一个潮牌DUEPLAY,借助与许多热门电影联名,郑恺的潮牌逐渐走向正轨,推出了《煎饼侠》《前任攻略2》《美人鱼》等电影IP的诸多衍生品,一度受到演艺圈同行、粉丝和网友的追捧。没多久,郑恺又进军泛娱乐领域,与人共同成立了一家集游戏研发、运营、发行于一体的泛娱乐文化公司北京石动,并在同年5月成为了香港时尚潮流体验店DAHOOD的股东。据媒体报道,郑恺还在上海巨鹿路投资了高端夜店TAXX。据说,这家夜店设施豪华,一瓶酒就要十几万元,一天的营业额就有300多万。门口豪车云集,莱斯莱斯只能靠边停,就连王思聪都慕名而来。郑恺名下的公司中,公司注册资本最高、名气最大的一笔,当属浙江东阳浩瀚影视娱乐有限公司。这家公司成立于2015年,注册资本达1064万元,最开始是由郑恺、李晨、Angelababy、冯绍峰、杜淳、陈赫6位明星出资成立。但仅成立一天后,华谊兄弟就宣布以7.56亿元的价格买下70%的股权,估值超过10亿元。这下子,郑恺创造了日赚7亿元的“神话”。彼时,郑恺想的是,把手中的资源打通,形成一个包含影视、游戏、经纪公司、衍生品等的完整产业链条,“像迪士尼一样”。天眼查显示,目前,郑恺旗下实控企业多达30家,他所有的企业有18家,其中注销了9家,存续的企业包括东阳浩瀚影视、上海猎豹文化、上海欢铄等,涉及影视娱乐、餐饮、服装贸易、体育活动策划等行业,商业版图拓展较宽。
虽然看起来生意越做越大,但郑恺在背地里踩了许多“坑”。最近,郑恺被曝出900万股权被冻结。起因是,上海猎豹文化新增股权冻结信息,郑恺成为被执行人,冻结股权数额为900万元,冻结期限自2022年6月10日至2025年6月9日。天眼查显示,猎豹文化成立于2016年10月18日,注册资本为1000万元,丁晶为法定代表人,经营范围涉及电影制片、电影发行、演出经纪等。郑恺持股90%并任该公司监事。虽然有网友觉得,900万元对艺人来说是“小钱”,不至于“伤筋动骨”,但这难免影响其自身口碑与商业价值。更何况,郑恺也不是第一次出事儿了。早在2021年4月26日,郑恺的猎豹文化就被强制执行3300万元,涉及与光线传媒的合同纠纷。之前,光线传媒曾参投郑恺主演的剧集《也平凡》。2019年年底,光线传媒就为这部剧,将猎豹文化告上法庭。在2020年报中,光线传媒披露,与猎豹文化涉及3300万的其他应收款,款项性质为影视项目退出投资款。光线传媒为这笔应收款计提坏账准备约361万元。这件事被爆出来后,作为猎豹文化的大股东,郑恺自然是难辞其咎。彼时,就有网友猜测,郑恺会不会由“明星老板”变成“欠款老赖”。而在更早之前,郑恺的火锅店也曾“翻车”。2020年7月8日,吼堂老火锅发文,直指“郑恺火锅店抄袭”,郑恺所开设的火凤祥火锅店的设计风格及装修方式等涉嫌抄袭吼堂老火锅。对此,有网友评论道,这不是“抄袭”,这就是“复制粘贴”。7月19日,郑恺在微博上回应称:“如有侵权,立即整改,绝不姑息”,并附上火凤祥(宁波)品牌管理有限公司发布的声明。吼堂老火锅对此表示,虽然数次通过不同渠道联系郑恺,但目前为止还未收到郑恺方关于涉嫌抄袭一事的直接回复。而此前,郑恺还曾公开对媒体称,对火锅店“从头到尾参与管理,包括装修细节”。![]()
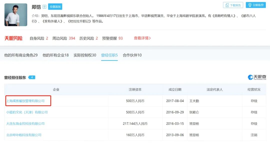
在前一天,郑恺投资的“火凤祥”在宁波举行开业仪式,郑恺和苗苗以“婚后首次合体亮相”为噱头,为新店剪彩站台,大肆炒作了一番。同时,还请来王祖蓝、林峰等明星好友到场助阵,宋茜、Angelababy、李晨、张国立等明星也录视频庆祝,可谓赚足了眼球。天眼查显示,郑恺的上海欢铄企业管理中心(有限合伙),曾是火凤祥(宁波)品牌管理有限公司(下称“火凤祥”)的股东,在2021年11月退出了投资,这距“抄袭风波”仅过去一年多。更令人大跌眼镜的是,郑恺投资的上海高端酒吧TAXX,曾涉及“偷税”被罚款。天眼查上的裁判文书显示,TAXX酒吧的主体是上海禹客餐饮管理有限公司。上海禹客成立于2017年8月4日,法定代表人是王夫勤,注册资本为500万人民币,经营范围涉及娱乐场所(歌舞娱乐场所)、餐饮企业管理等。2017年11月时,郑恺成为上海禹客的股东,但不到一年就退出了。尽管如此,在郑恺担任公司股东期间,上海禹客曾涉及偷税,被上海税务局处罚。![]()
上海税务局官网显示,2021年12月,国家税务总局上海市税务局第一稽查局检查发现,在2017年08月05日至2019年05月31日期间,上海禹客采取偷税手段,不缴或者少缴应纳税款4512.72万元。根据相关法律规定,监管部门对上海禹客处以追缴税款4512.72万元的行政处理、处以罚款4512.92万元的行政处罚。欠债、抄袭、偷税,郑恺所有或投资过的企业频频“爆雷”,败坏了许多“路人缘”。
郑恺之前在商业上玩得风生水起,不仅带着好友们一起搞投资,“跑男”兄弟们也都见势自己开店。郑恺的商业版图中,就不乏陈赫、李晨、杜淳等明星的身影。2016年3月,“跑男兄弟团”的郑恺、陈赫、李晨,以及时尚集团前总裁苏芒等人,曾投资了进口零食电商“咸蛋家”,并多次在咸蛋家直播平台进行直播,使得咸蛋家在2016年的直播红海中闯出了一片天地。本以为是个赚钱的大买卖,但没想到,咸蛋家次年就被爆出涉嫌非法集资、拖欠用户超百万元的丑闻。2017年底,咸蛋家又被爆出其海外版网络直播平台“Peepla”传播淫秽色情信息,一度引起轰动。部分主播常以只穿内裤甚至裸体的照片作为封面,有部分主播还会在直播时做出不雅动作。最终,“Peepla”多位负责人及主播被抓,此案也成为了国内同时追究直播平台和网络主播刑事责任第一案。随后,陈赫、苏芒、李晨、郑恺等纷纷于2018年3月悄然离场,退出了咸蛋家的投资人之列。此前,陈赫还与朱桢、叶一茜在创立了“贤合庄”火锅品牌,并在福州、厦门、合肥等地开设了多家直营门店。2021年1月,叶一茜退出公司合伙人,李晨间接入股。![]()
这段时间,陈赫又退出贤和庄股东,加上网传2.4亿加盟费、加盟商集体维权等事件发酵,陈赫的“贤合庄”频频登上热搜。在招商方面,贤合庄号称“投资180万-300万元,一年半回本”。但实际情况却不容乐观,不仅关店超过200家,加盟商还巨亏百万,导致加盟商集体上门维权。前不久,在四川贤合庄总部,一群加盟商身穿红色T恤,印着大大的“惨”字和“坑”字,高呼“陈赫还我血汗钱”。![]()
很快就有网友发现,陈赫与贤合庄划清界限,其各个社交平台搜“贤合庄”已全无踪影。这引发了“陈赫退出福建贤合庄股东,割加盟商韭菜”的讨论。天眼查显示,今年5月,由陈赫持股的福建贤合庄品牌管理合伙企业(有限合伙),已退出福建省贤合庄餐饮投资管理有限公司股东行列,后者更名为福建省贤合庄餐饮有限公司。6月8日,@贤合庄卤味火锅否认了网传陈赫收取“2.4亿加盟费”“3.7亿加盟费”等内容。6月11日,陈赫又发布声明称:“对于贤合庄品牌,我会始终保持创始人的身份和所有门店的加盟商携手共进,永远跟大家在一起。”2021年1月,继陈赫、郑恺后,Angelababy也开了火锅店——斗鎏火锅。Angelababy还曾在微博官宣在成都开出斗鎏火锅全国首店。有意思的是,这个店位于成都晶融汇购物中心,与黄晓明的“烧江南烤肉店”、陈赫的“贤合庄卤味火锅店”以及网红店“吼堂老火锅”店仅一条马路之隔。但是,斗鎏火锅的首店开业还不到一年,就“倒闭”了。2021年12月,斗鎏火锅关闭包括品牌首店在内的两家门店,从此退出成都市场。作为“跑男”节目的常客,关晓彤或许看着大家伙开店自己也坐不住了。2020年9月,关晓彤以“店长”身份,推出奶茶品牌“天然呆”。今年3月,关晓彤及关联奶茶公司“天然呆”被温州一家公司起诉,案由为特许经营合同纠纷。此前,还有加盟商爆料称,天然呆奶茶公司不给其开发票、没有商业特许经营许可证。“天然呆奶茶”官网显示,该品牌是天然呆公司携手关晓彤创立,关晓彤为店长。天眼查显示,成都天然呆餐饮管理有限公司成立于2020年8月,由关晓彤父亲关少曾间接持股35%。随后,天然呆方面回应称:关晓彤并非合同主体,亦未参与公司经营管理工作。对此,网友并不买账,纷纷表示“希望明星吃流量红利的同时能承担相应的义务,不要出事前割韭菜,出事后撇清关系跑路”。还记得刚成名那会儿,郑恺曾说过一段很讽刺的话:“好歹我还是个屁,很多人奋斗半辈子连个屁都不是。”只不过,明星们还没意识到,自己折腾半生、频繁踩坑,到头来也可能是一场空。参考资料:
《郑恺:我尽量不让自己变得“讨厌”》,苏州广播电视报
《郑恺的生意经:靠一屁成名狂赚百万,开公司仅1天便7亿转卖华谊》,AI财经社
《陈赫退股贤合庄:有人忙着维权,有人忙着“洗白”》,蓝鲸财经
*
欢迎扫描下方二维码
极扬文化,是一家新媒体、新消费为主业的新三板挂牌公司(股票代码:873375),旗下金八媒体矩阵包括金融八卦女、新10亿商业参考等,超过1100万用户选择关注我们的新媒体。由于微信改版,公众号文章不再按时间顺序推送文章,而是根据权重推送。
如果您还希望经常看到我们的文章,记得点在看和给八妹添加一个“星标”哦!☟☟☟