点击上方蓝色字,关注浙中指挥长
今早(9月30日),金华市区4宗商住地块挂牌出让,分别位于婺城区、金东区。
指挥长(微信公众号:浙中指挥长)注意到,其中,位于湖海塘以南区块雅畈镇约95亩地块为普通商品房,其余3宗地块均为用于安置的商品住房用地。
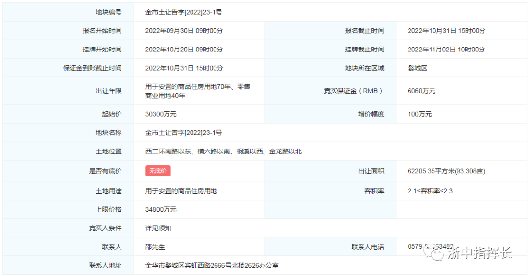
地块一:西二环南路以东、横六路以南、桐溪以西、金龙路以北
▲土地信息
▲地块区位图
▲地块实景图
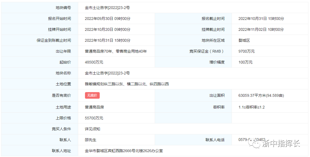
地块二:规划纵三路以东、横二路以北、纵四路以西
▲土地信息
▲地块区位图
▲地块实景图
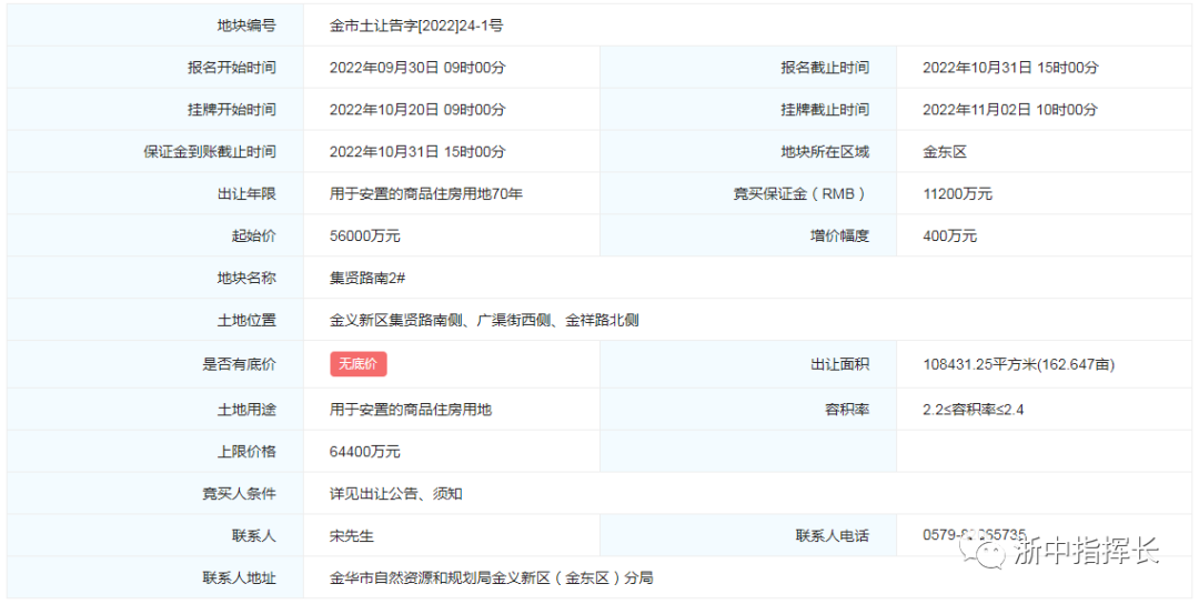
地块三:集贤路南侧、广渠街西侧、金祥路北侧
▲土地信息
▲地块区位图
▲地块实景图
地块四:金义快速路南侧、王浬源路西侧、天山路北侧
▲土地信息
▲地块区位图
▲地块实景图
将于2022年11月2日10时竞拍!
本公众号将持续关注!
往期文章:
感谢你的每一次
转发 | 点赞 | 支持
你的支持是我不懈的动力