摘 要
近年来信用风险事件频发,债券担保和担保公司代偿风险受到市场关注。本报告第一部分对债券担保类型、城投债和产业债担保现状进行梳理,第二部分对担保公司的资质、客户质量、风控及偿债能力等进行全方位梳理,第三部分建立担保公司评价体系并给出评分结果。
债券担保概览:
(1)我们依据担保人性质、担保人与发行人的关系将债券担保类型分为五类:担保公司、关联方、非关联方、银行和建设基金担保。其中担保公司、关联方、非关联方担保累计占比达96%。
(2)担保券种集中在企业债和公司债,过半数企业债采用担保公司担保,公司债主要采用关联方担保和非关联方担保。城投债主要依靠担保公司担保,产业债倾向于采用关联方担保。
(3)城投债担保:地级市城投担保债券余额最大,县及县级市城投依赖担保促发行;各省份城投担保债资质分化明显。
(4)产业债担保集中度较高,各行业公司属性、主体评级差异大。
担保公司概览:
(1)债券担保行业集中度较高,中合担保、中债信增、重庆三峡担保和中投保剩余担保额合计占比达51%。
(2)担保公司资质:21家担保公司中,除了民营的瀚华担保、中外合资的中合担保、股权分散的中证信增,其余担保公司均为国有企业。21家担保公司主体评级均为AA+及以上中高评级,其中有14家为AAA级。
(3)担保公司客户质量及集中度:全国性和地方性担保公司的担保主体资质明显分化,担保债券以城投债为主,行业和区域集中度较高。
(4)担保公司业务:担保责任余额增长两级分化,担保放大倍数和担保代偿率差异大。
担保公司评分结果:
我们从代偿风险和偿债能力两个维度构建评分体系,对20家担保公司进行打分排序。广东再担保、深圳中小企业担保、中债信增、中投保、深圳高新投排名前5,瀚华担保、重庆进出口担保、首创担保排名靠后。
风险提示:指标选择不合理,数据测算存在误差。
一、担保债券概览
(一)担保类型:担保公司、关联方担保、非关联方担保为主
1、担保公司、关联方、非关联方担保占比达96%
我们依据担保人性质、担保人与发行人的关系将债券担保类型分为五类:担保公司担保、关联方担保、非关联方担保、银行担保和建设基金担保。其中,担保公司、银行和建设基金担保根据担保人的性质进行划分,关联方和非关联方担保根据担保人与发行人的关系进行划分。关联方担保是指担保人和发行人存在股权关系,包括担保人直接或间接持有发行人股份、发行人直接或间接持有担保人股份的情形。非关联方担保是指排除担保公司、银行和建设基金的担保人,且担保人和发行人不存在股权关系。
截至2018年7月20日,在现有的信用债中,包括企业债(一般企业债和集合企业债)、公司债(一般公司债和私募债)、中票(一般中票和集合票据)、短融(一般短融和超短融)和定向工具,关联方担保的债券剩余规模达7534.1亿,占比最高为44.1%;排名次之的担保公司担保债券余额占比为31.55%;非关联方担保债券余额占比为20.37%,三者占比合计达96%。
2、担保券种集中在企业债和公司债,过半数企业债采用担保公司担保,公司债主要采用关联方担保和非关联方担保
从债券类型看,担保债券主要集中在企业债和公司债。截至2018年7月20日,担保的企业债余额最大为8058.7亿,占比47%。担保的公司债余额占比略低于企业债,其中私募债余额为3925.6亿,占比23%;一般公司债余额为3654.3亿,占比21%。担保的中票、短融和定向工具规模较小,短融余额最小为152.5亿,占比仅1%。
企业债和公司债担保类型存在明显差异。企业债倾向于采用担保公司,担保公司担保的企业债达4333.97亿,占比53.78%;非关联方担保占比21.78%,关联方担保占比16.16%;银行担保占比7.66%。一般公司债主要依靠关联方担保,关联方提供担保为3109.3亿,占比高达85%。私募债依赖关联方担保和非关联方担保,其中关联方担保占比为57.19%,非关联方担保占比为32.98%。中票和短融主要依靠关联方担保和担保公司担保。
3、城投债主要依靠担保公司担保,产业债倾向于采用关联方担保
截至2018年7月20日,担保的城投债余额为7872.8亿,担保的产业债余额为9211.9亿。城投债主要依靠担保公司担保,部分城投平台自身资质较弱,担保公司增信能够有效地促进城投债发行。其中,担保公司担保的城投债余额达4639.7亿,占比58.93%;非关联方担保排名次之,占比为22.69%;关联方担保占比为18.38%。
产业债倾向于采用关联方担保,相比担保公司担保,关联方担保的增信效果较弱,但成本也更低。关联方提供担保的产业债余额达6087.1亿,占比66%;非关联方担保占比18.4%;而担保公司担保占比仅8.15%。
(二)城投债担保:地级市、县及县级市担保债券余额大,区域担保主体分化明显
1、地级市城投担保债券余额最大,县及县级市城投依赖担保促发行
从担保债券余额看,地级市城投担保债余额为2843.2亿,占比36.4%最高;排名次之的是县及县级市城投,担保债余额为2759.1亿,占比35.32%;省及省会(单列市)城投担保债余额占比28.28%。从主体评级看,担保的县及县级市城投资质最弱,AA-及以下主体评级占比29%,AA级占比58.9%,担保对弱资质城投增信效果明显,促使其顺利发行。
2、各省份城投担保债资质分化明显
从城投级别看,河南、浙江、江西、湖北县及县级市城投担保债余额占比最高,分别为58.2%、57.9%、57%和50.3%,一定程度反映出这些省份低级别平台发债活跃,整体资质有所下沉。吉林、广西、内蒙古、新疆、贵州、安徽地级市城投担保债余额占比最高,均超过50%,其中吉林和广西超过80%,以经济欠发达地区为主,一定程度反映出这些省份城投债市场认可度较低,就算是地级市平台发债也较为困难,需要依靠担保增信。
从主体评级看,城投担保债以AA、AA-及以下低评级为主。黑龙江、河南、湖北、江西和辽宁弱资质城投担保债最多,AA-及以下余额占比居前5位,分别为54.5%、47.8%、45.1%、39.3%和31.7%。辽宁、内蒙古、新疆城投担保债全部为AA及以下低评级。城投担保债余额排名靠前的省份中,湖北、贵州、安徽、江西、山东和湖南AA及以下低评级余额占比超过80%。
(三)产业债担保:集中度较高,各行业担保主体资质分化大
1、产业债担保集中度较高,各行业公司属性、主体评级差异大
从产业债行业分布看,按照申万行业一级分类,担保债券主要集中在房地产(1800.2亿)、建筑装饰(1358.3亿)、综合(926.4亿)、公用事业(869亿)、采掘(812.8亿)和交通运输行业(660.5亿)。六个行业担保债券余额占比合计达71.3%。
从公司属性看,轻工制造、医药生物、电气设备、商业贸易和农林牧渔行业担保债券发行人中,民企占比较高,分别为58.4%、41.8%、38.6%、34%和25.1%。休闲服务、钢铁、汽车和采掘行业担保债券发行人中,地方国企占比均超过80%。房地产和建筑装饰担保债券发行人以地方国企和其他企业为主,公用事业担保债券发行人以央企为主。
从主体评级看,轻工制造、电气设备、商业贸易和房地产行业担保债券发行人主体评级AA及以下低评级余额占比较高,分别为100%、100%、64%和57%。机械设备担保债券发行人AA-及以下评级余额占比最高为30.9%。国防军工、交通运输、采掘和公用事业担保债券发行人AAA级占比均超过60%。
(四)担保公司代偿及违约事件
担保公司是债券市场重要的增信主体,为债券(尤其是城投债)发行起到很好的增信作用。多数担保公司都有国企背景和政策性支持,市场对于担保公司的增信能力较为肯定,担保公司作为独立第三方的增信作用整体上强于关联方担保和非关联方担保。
但是近年信用风险事件频发,担保公司的代偿风险也随之上升,中债增一年内接连发生10起代偿事件,部分担保公司如海泰担保、中海信达等多家接连出现了担保代偿违约事件,中海信达甚至已被撤销担保资质,市场对于担保公司的认可度也受到了一定冲击。我们通过对担保公司的资质、客户质量、风控及偿债能力等进行全方位的梳理,建立担保公司评价体系并给出评分结果。
二、担保公司概览
(一)债券担保行业集中度较高
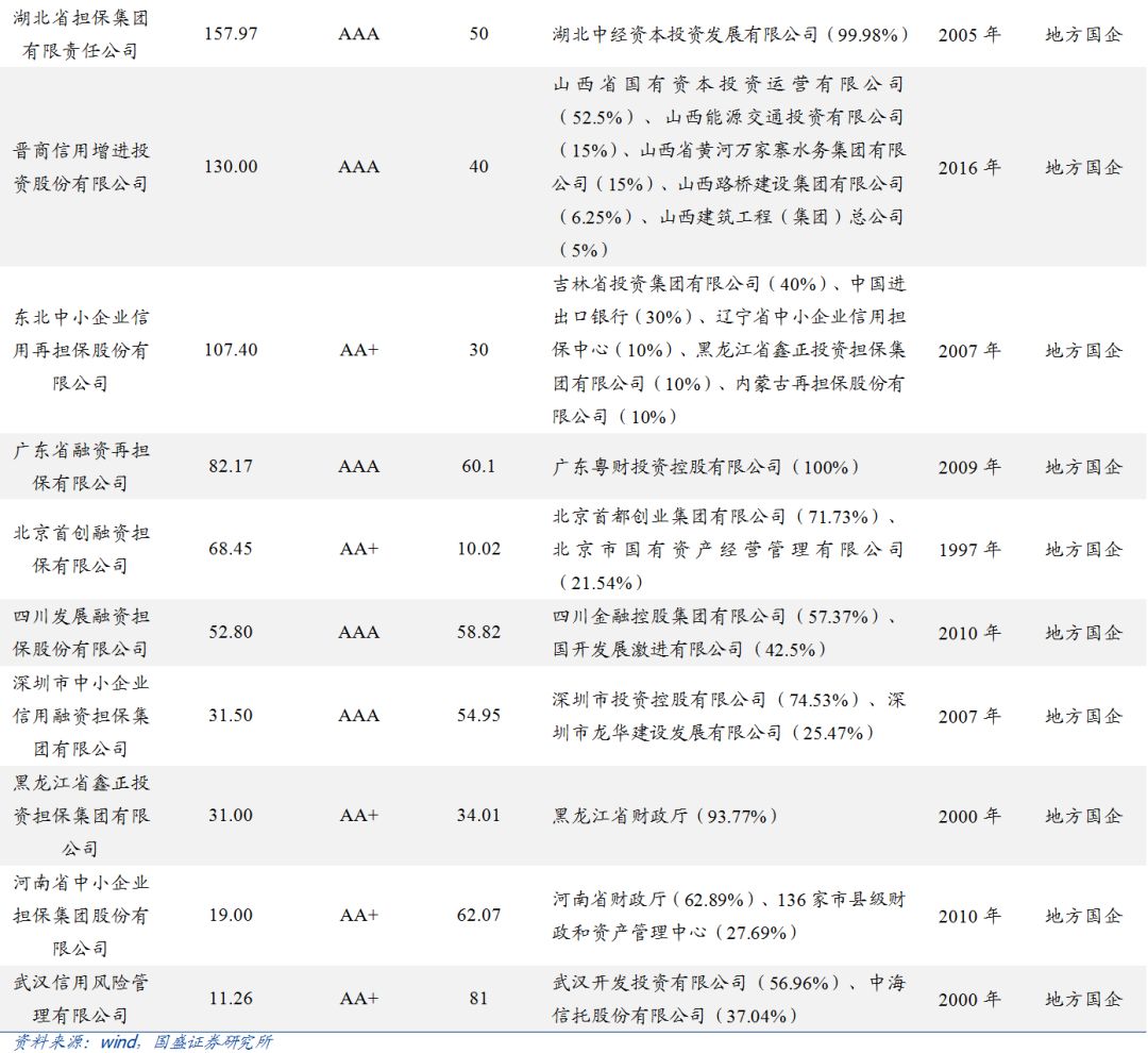
截至2018年7月20日,剩余担保额超过100亿的担保公司有14家担保公司,其中,中合担保(1017.03亿)、中债信增(843.7亿)、重庆三峡担保(549.1亿)和中投保(546.03亿)剩余担保额超过500亿,这4家担保公司剩余担保额合计占比达51%。
我们选取剩余担保额超过10亿的担保公司,排除信息披露少的哈尔滨担保(存量担保债仅1只),对21家担保公司进行具体梳理。
(二)担保公司资质:国有控股企业为主,整体资质较高
在我国融资担保行业发展过程中,政府起到重要作用。21家担保公司中,除了民营的瀚华担保、中外合资的中合担保、股权分散的中证信增,其余担保公司均为国有企业,其中,中债信增和中投保是央企,地方国企有16家。
政府作为出资方加大对担保公司的支持力度,增强了市场对担保公司增信能力的评价。21家担保公司主体评级均为AA+及以上中高评级,其中有14家为AAA级。
(三)担保公司客户质量及集中度:担保主体资质分化,以城投债为主,行业和区域集中度较高
从担保债券主体评级看,担保债券主体评级主要集中在AA和AA-级,整体而言担保的发行主体资质有所下沉。全国性和地方性担保公司的担保主体资质明显分化。全国性融资担保公司客户以AA及以上中高信用级别为主,中合担保AA-及以下占比为4.13%,中投保AA-及以下占比仅3.30%,中债信增和中证信增AA+和AAA级客户占比较高。
地方性融资担保公司具有政策性倾斜,比如支持中小企业发展、帮助弱资质城投融资。因此,担保债券中AA、AA-及以下主体占比较高,如重庆三峡担保、重庆进出口担保、重庆兴农担保、安徽担保、东北中小企业担保、四川担保等。民营性质的瀚华担保的担保主体资质也较弱,其中AA级占比70.34%,AA-及以下占比21.67%。
担保公司的担保债券以城投债为主,安徽担保、重庆进出口担保、东北中小企业担保、四川担保、黑龙江担保、河南中小企业担保的担保存量债券全部为城投债,中合担保、重庆三峡担保、中投保、安徽担保、江苏再担保、重庆兴农担保、瀚华担保、湖北担保、首创担保的担保城投债占比均超过90%。城投债占比为零的深圳高新投、深圳中小企业担保和武汉信用,主要由于其业务定位为支持中小企业和创新创业企业融资,具有较强的政策倾斜。
担保债券的行业和区域集中度较高。从行业分布看,担保公司担保的产业债主要集中在非银金融、房地产、采掘、建筑装饰、综合、公用事业行业。从区域分布看,地方性融资担保公司主要集中在所属省份,如江苏再担保、安徽担保、广东再担保、四川担保、河南中小企业担保。全国性融资担保公司如中投保、中债信增、中证信增、中合担保,客户主要集中在经济较发达、金融生态环境较为完善的华东、华中和华北地区。
从担保债券剩余期限看,担保债券短期内集中到期压力可控。21家担保公司中,有16家担保公司1年以内到期的债券占比低于5%,其担保债券剩余期限以3-5年和5年以上为主。深圳中小企业担保、首创担保和中债信增1年以内到期的担保债券占比较高,分别为34.9%、28.4%和22.5%。
(四)担保公司业务:担保责任余额增长两级分化,担保放大倍数和担保代偿率差异大
从净资产看,2017年净资产超过100亿的担保公司有安徽安保、深圳高新投和中投保,分别达178.96亿、111.96亿和100.29亿。首创担保、东北中小企业担保、重庆进出口担保、瀚华担保和黑龙江担保净资产较小,均低于45亿。
从担保责任余额看,安徽担保、中投保、中合担保和深圳高新投2017年担保责任余额居前列,分别达1531.04亿、1263.98亿、1088.79亿和1011.05亿。中债信增和重庆三峡担保17年担保责任余额均超过900亿。从担保放大倍数看,首创担保、重庆三峡担保、中合担保、中投保、中债信增和瀚华担保的担保放大倍数超过10倍。广东再担保、四川担保、深圳中小企业担保和武汉信用的担保放大倍数均低于3倍。
从15-17年担保责任余额增长率看,中证信增担保责任余额增长最快,增长率高达1674.07%,成立于2016年的晋商信增增长率也较高。而武汉信用担保责任余额出现显著下滑,16年同比下滑29.89%,河南中小企业担保、广东再担保和东北中小企业担保担保责任余额也出现下滑。
从担保代偿率看,安徽担保和四川担保代偿率最高,均超过3%,中合担保2017年累计代偿率为2.21%。中投保、中证信增、江苏再担保、深圳高新投、晋商信增和广东再担保代偿率较低。
三、担保公司信用分析
(一)担保公司评级体系
担保属于或有负债,融资性担保公司的核心业务是表外业务,通常的财务报表分析并不能很好地衡量担保公司的经营和财务风险。对担保公司进行信用分析,我们主要关注两个层面:一是担保公司承担了多大的代偿风险,二是担保公司具有怎样的偿债能力来抵御风险。
1、担保公司代偿风险度量指标主要包括担保责任余额、担保责任余额增长率、担保放大倍数、风险集中度、担保代偿率。
担保责任余额是指担保公司负有代偿责任的部分,用以衡量担保公司的风险敞口,包括融资性担保(包括债券担保)、非融资性担保、再担保等所有担保业务。担保责任余额越大,担保公司风险敞口越大。
该指标选取担保公司17年担保责任余额数据,采用分档打分方式,分值区间为[1,5],首先提取样本中位于1/5、2/5、3/5、4/5分位数的担保责任余额数值,由于担保责任余额是负向指标,低于1/5分位数的样本得分为5,依次对所有样本进行打分。
担保责任余额增长率反映担保公司业务的动态变化。当担保责任余额增长率过高,而公司未能补充净资本,则说明担保公司扩张较为激进,经营和财务风险加大。该指标选取15-17年担保责任余额增长率数据,为负向指标,同样采用分档打分方式进行评分。
担保放大倍数是担保责任余额与净资产的比率,用来考察担保公司净资产对担保责任余额的覆盖能力,是衡量代偿风险重要的预警指标。根据《融资担保公司监督管理条例》,融资担保公司的担保责任余额不得超过其净资产的10倍;四项配套制度通知(银保监发[2018]1号)将服务小微企业和“三农”的融资担保公司放大倍数上限调整至15倍。
该指标选取担保公司17年担保放大倍数数据,其中黑龙江担保由于17年数据未披露,用16年数据代替,指标数据越大,分值越低。
风险集中度主要包括四个方面,担保主体、担保行业、担保区域和到期期限集中度。集中度过高意味着集中代偿的概率越高,增大代偿风险。
考虑到数据可得性,我们采用担保债券区域集中度和担保债券期限集中度来衡量风险集中度。担保债券区域集中度为定性指标,我们依据担保债券分布省份数量越多、所属省份经济越发达指标得分越高(得分越高、区域集中度越低)的原则进行判断和打分。
对于担保债券期限集中度指标,我们对债券期限赋予一定数值,用对应期限比重乘以数值得到一个综合值,根据综合值排序进行分档打分,短期限比重越高则得分越低。
担保代偿率是担保代偿额与已解除担保额的比率,用来考察担保公司历史代偿情况,衡量担保资产风险状况和担保公司内控能力。该指标选取担保公司17年累计担保代偿率数据,部分公司未披露累计担保代偿率,则用当期担保代偿率代替。担保代偿率越高,得分越低。
2、担保公司偿债能力度量指标主要包括股东支持(股东背景、实收资本)、净资产、准备金拨备率、净资产收益率。
股东支持主要看两方面,一是股东背景,考虑担保公司股权结构中的国有成分和非国有成分,国有股东对担保公司的支持意愿更强;二是实收资本,实收资本的大小直接反映股东对担保公司的支持能力和意愿。
股东背景为定性指标,我们依据央企、发达省份国企、欠发达省份国企、合资企业、民企得分依次降档的原则进行打分。实收资本为17年数据,实收资本越大,得分越高。
净资产是公司资产扣除负债以外的所有者权益,反映担保公司的资本实力。该指标选取担保公司17年所有者权益数据,数值越大得分越高。
准备金拨备率是风险准备金与担保责任余额的比率,反映风险准备金对担保责任余额的覆盖能力。风险准备金包括未到期责任准备金、担保赔偿准备金和一般风险准备金。根据《融资性担保公司管理暂行办法》规定,融资性担保公司应当按照当年担保费收入的50%提取未到期责任准备金,并按不低于当年年末担保责任余额1%的比例提取担保赔偿准备金,对一般风险准备金没有明确规定。
准备金拨备率选取17年数据,黑龙江担保由于17年数据尚未披露,用16年数据代替,指标数值越大,分值越高。
净资产收益率是净利润与年初和年末平均净资产的比率,反映公司净资产的回报率,衡量担保公司的盈利能力。净资产收益率越高,公司盈利能力越强,为偿债提供有力保障。净资产收益率为17年数据,数值越大得分越高。
(二)担保公司评分结果
违约系列报告:
分析师:丁婷婷
分析师执业编号:S0680512050001