南国早报记者了解到,余某容名下的法拍房共有122套。
其中,南宁119套:凯旋1号2套,云星·钱隆首府6套,绿城·春江明月8套(包括车位),阳光城·时代中心103套;
桂林3套:长城花园1套,万灵·润园2套别墅。
据资产评估报告显示,余某容名下房产市场价值已超过1.27亿元。
8月9日,法院首拍余某容名下的29套房产,包括2套凯旋1号豪宅、6套云星·钱隆首府等。其余房产法拍时间则延续至8月21日。
8月10日,首拍结束,除了凯旋1号的两套豪宅成功竞买外,另外27套房屋全部流拍。
当天,余某容名下阳光城·时代中心的16套房屋(设计用途为办公)继续法拍,均无人报名。8月11日,16套房全部流拍。
至此,余某容名下共43套房屋流拍。
记者注意到,此次成功竞买的两套凯旋1号豪宅,其中一套为1号楼3602号房,余某容于2017年9月购入,建筑面积为483.69平方米,套内面积为427.35平方米,5房3厅1厨4卫5阳台,为豪华精装修。
▲凯旋1号1号楼3602号房。图片来源:阿里法拍
据阿里资产·司法平台信息披露,该房屋尚未有居住痕迹。据悉,该房屋市场价为1645.42万元,也是此次余某容名下评估价值最高的房产,起拍价为1152万元。
该房屋只有2人报名竞拍,拍卖时间为8月9日10时至10日10时,超过1.1万人围观。其间,只有一人出价,竞价一次,最后以1152万元成交。
▲凯旋1号1号楼3602号房的起拍价信息。
余某容的另一套豪宅位于凯旋1号2号楼4102号房,2017年9月2日购入,有使用痕迹。该套房子建筑面积为314.02平方米,套内面积为260.31平方米,4房3厅1厨3卫5阳台,为豪华装修,内有餐桌、吧台、沙发等42件家具家电。
截至今年3月31日,该房欠下物业管理费、生活垃圾清运费等费用4.8万余元(不含滞纳金、违约金),均由买受人支付。
▲凯旋1号2号楼4102号房套房内实图。图片来源:阿里法拍
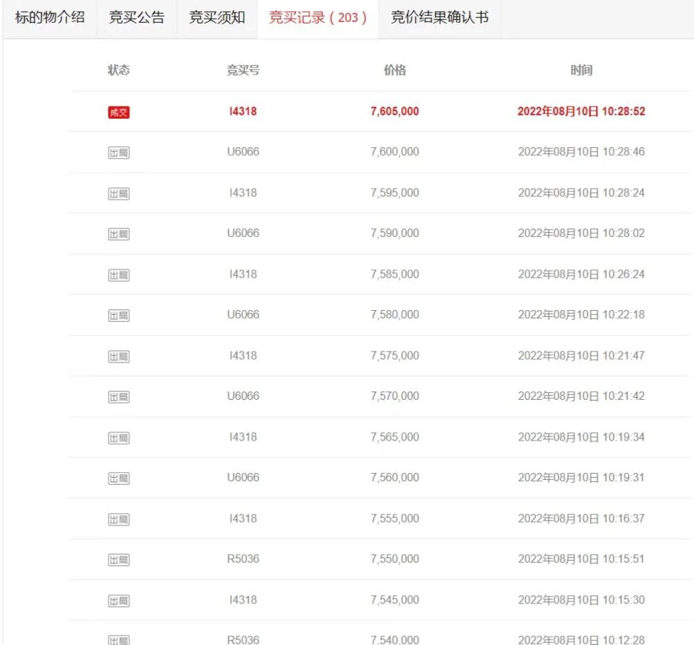
值得一提的是,该套房子市场价为901.86万元,起拍价为632万元。
在拍卖中,超过1.5万人围观,3人出价,竞价203次,最终以760.5万元成交。
▲凯旋1号2号楼4102号房的起拍价信息。
▲凯旋1号2号楼4102号房的竟买记录。
据业内人士表示,余某容创下广西法拍个人名下房产最多、集中法拍数量最多、资产评估价值最大的三个记录。
新闻背景:斑美拉传销案
2020年8月4日,玉林市玉州区人民法院对备受社会各界关注的“斑美拉”特大传销案进行一审宣判,该案判决19名被告人,涉及会员3万多人,涉案金额43亿多元。
2014年12月至2018年10月,余某容与闭某成经谋划,在香港注册成立了亚洲斑美拉美容养生机构有限公司(以下简称斑美拉公司)、广州斑美拉产品有限公司、广州斑美拉产品有限公司南宁分公司、斑美拉生物医药科技(天津)有限公司(并以该公司名义申请注册了“容玺”商标,推出“容玺排毒套餐”“容玺护肤套餐”美容产品)等涉传销企业。
余某容、闭某成所领导、管理的斑美拉公司及一系列有关企业,在整个传销组织体系中处于核心主导地位,其家族成员余某艺等人在传销体系中负责关键部门管理,构成家族式经营管理的斑美拉传销体系。
截至2018年10月9日,余某容、闭某成的传销活动在全国29个省、自治区、直辖市发展下线共计38671人,层级24层。2016年8月1日至2018年9月30日,经营金额43.77亿元,二人在传销活动中非法获利共计13.63亿元。其余各在案参与传销的被告人,经营金额从19亿多元至10万元,非法获利从700多万元至10万元不等。
余某容等19人因犯组织、领导传销活动罪,分别被判处12年至2年不等有期徒刑,并处罚金共计2.7亿多元,依法没收财产约7亿元。
此前报道↓↓
来源丨南国早报记者 卢荻、实习生 徐秋丽
值班编辑丨颜 梦
值班校对丨黄少华
值班主任丨唐海波
值班编委丨王 冲
更多精彩资讯,请关注早报君推送