近期在核酸检测过程中,许多居民都收到了混管阳性的提示电话或短信。若您收到提示后,请您无需担心,请本人就近单独前往追阳复查采样点(见附表),免费进行单人单管采样复核。本人前往过程中请做好个人防护,不要乘坐公共交通工具。复核后核酸检测结果阴性,正常出入;复核后核酸检测结果阳性,另行通知。以上措施,如有更改,另行通知。
附件:五莲县追阳复查采样点
五莲县委统筹疫情防控和经济运行工作领导小组(指挥部)办公室
2022年12月15日
五莲县追阳复查采样点
注意:县城城区2处追阳复查采样点只为混管结果异常人员服务,城区愿检尽检人员请前往其他采样点。
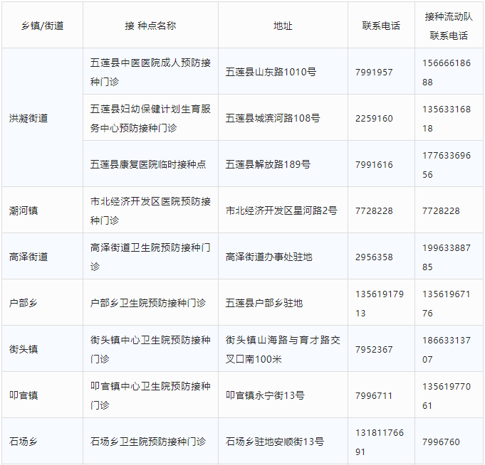
五莲县
最新新冠疫苗接种点
以及接种流动队联系电话
“日照日报视频号”上新了!
更多精彩视频
尽在“日照日报视频号”
欢迎关注
编辑:丁晓丽
审核:王宗敏
统筹:夏宗伟
投稿邮箱:rzxww@rz.shandong.cn